专利数据库
统计分析
产业报告
专利数据监控
产业人才
行业动态
产业政策法规
维权援助
个人中心
详情
文本
图像
标题
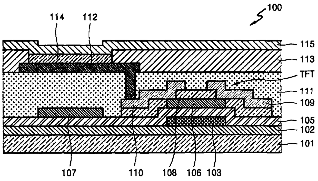
有机发光显示设备
授权日
1900-01-01
公开(公告)号
CN102195000A
申请日
2011-01-10
公开(公告)日
2011-09-21
当前申请(专利权)人
三星显示有限公司
发明人
金武谦 | 朴惠香 | 朴贤善
简单同族
CN102195000A | CN102195000B | KR101117737B1 | KR1020110099501A | TW201133823A | TWI545741B | US20110215305A1 | US20150263313A1 | US9048449 | US9209423
简单同族成员数量
10
简单同族被引用专利总数
60
诉讼案件数
0
法律状态/事件
授权 | 权利转移
抱歉,您的浏览器不支持PDF预览,请点击链接下载PDF文件