专利数据库
统计分析
产业报告
专利数据监控
产业人才
行业动态
产业政策法规
维权援助
个人中心
详情
文本
图像
标题
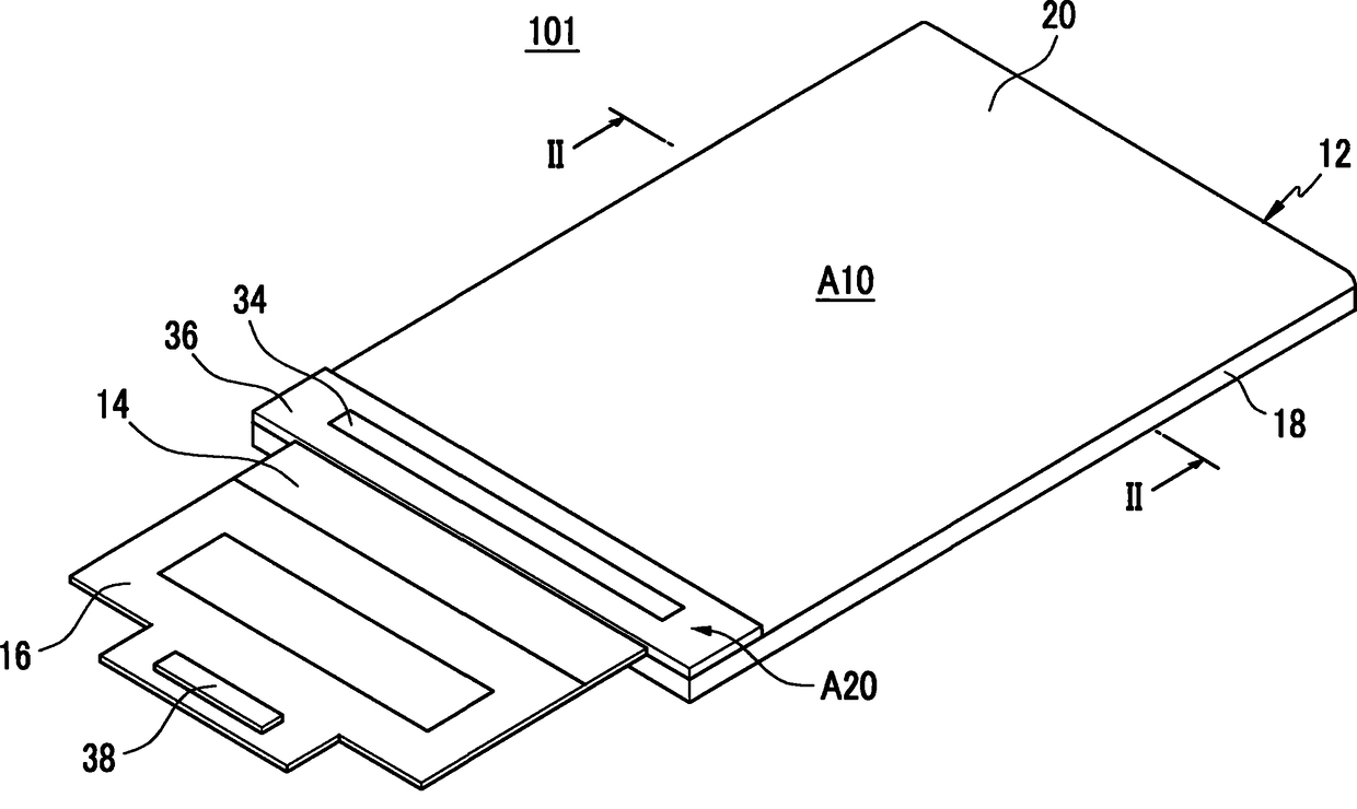
有机发光二极管显示器
授权日
1900-01-01
公开(公告)号
CN102157543A
申请日
2011-01-04
公开(公告)日
2011-08-17
当前申请(专利权)人
三星显示有限公司
发明人
金素延 | 韩盛旭 | 韩东垣 | 郭镇浩 | 金孝真
简单同族
CN102157543A | CN102157543B | DE102010064378A1 | JP2011138748A | JP2014179335A | JP6072724B2 | KR101155904B1 | KR1020110080050A | TW201208172A | TWI455386B | US20110163330A1 | US20130037792A1 | US8735936
简单同族成员数量
13
简单同族被引用专利总数
93
诉讼案件数
0
法律状态/事件
授权
抱歉,您的浏览器不支持PDF预览,请点击链接下载PDF文件