专利数据库
统计分析
产业报告
专利数据监控
产业人才
行业动态
产业政策法规
维权援助
个人中心
详情
文本
图像
标题
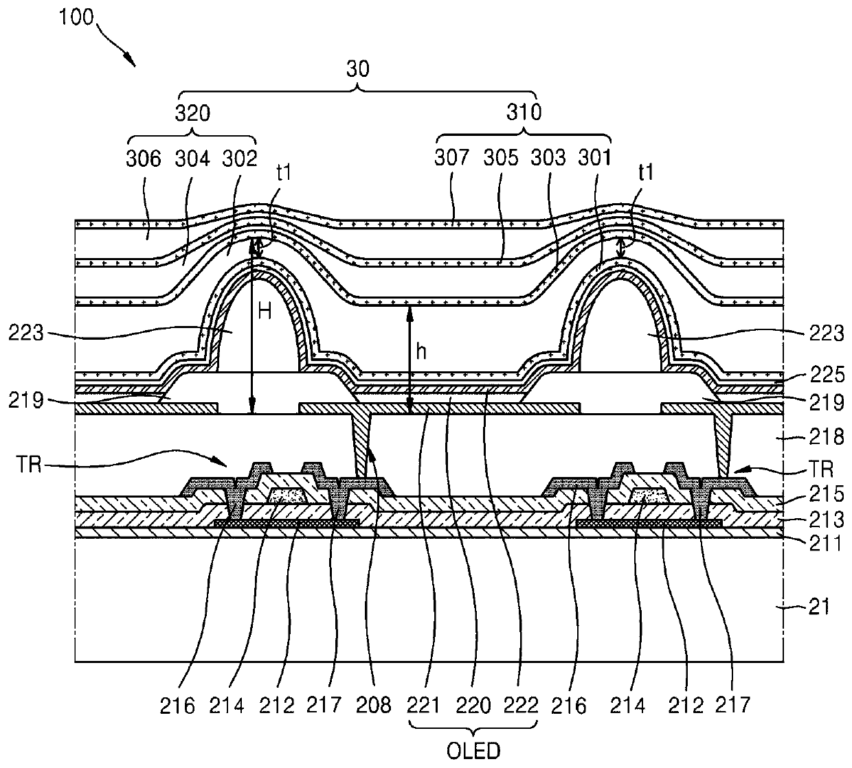
有机发光显示装置及其制造方法
授权日
1900-01-01
公开(公告)号
CN110137374A
申请日
2014-04-25
公开(公告)日
2019-08-16
当前申请(专利权)人
三星显示有限公司
发明人
姜泰旭
简单同族
CN104282713A | CN104282713B | CN110137374A | KR1020150007866A | KR102080008B1 | TW201503350A | US10084154 | US10622586 | US20150014636A1 | US20170179431A1 | US20180366682A1 | US20200220102A1 | US9614180
简单同族成员数量
13
简单同族被引用专利总数
65
诉讼案件数
0
法律状态/事件
实质审查
抱歉,您的浏览器不支持PDF预览,请点击链接下载PDF文件