专利数据库
统计分析
产业报告
专利数据监控
产业人才
行业动态
产业政策法规
维权援助
个人中心
详情
文本
图像
标题
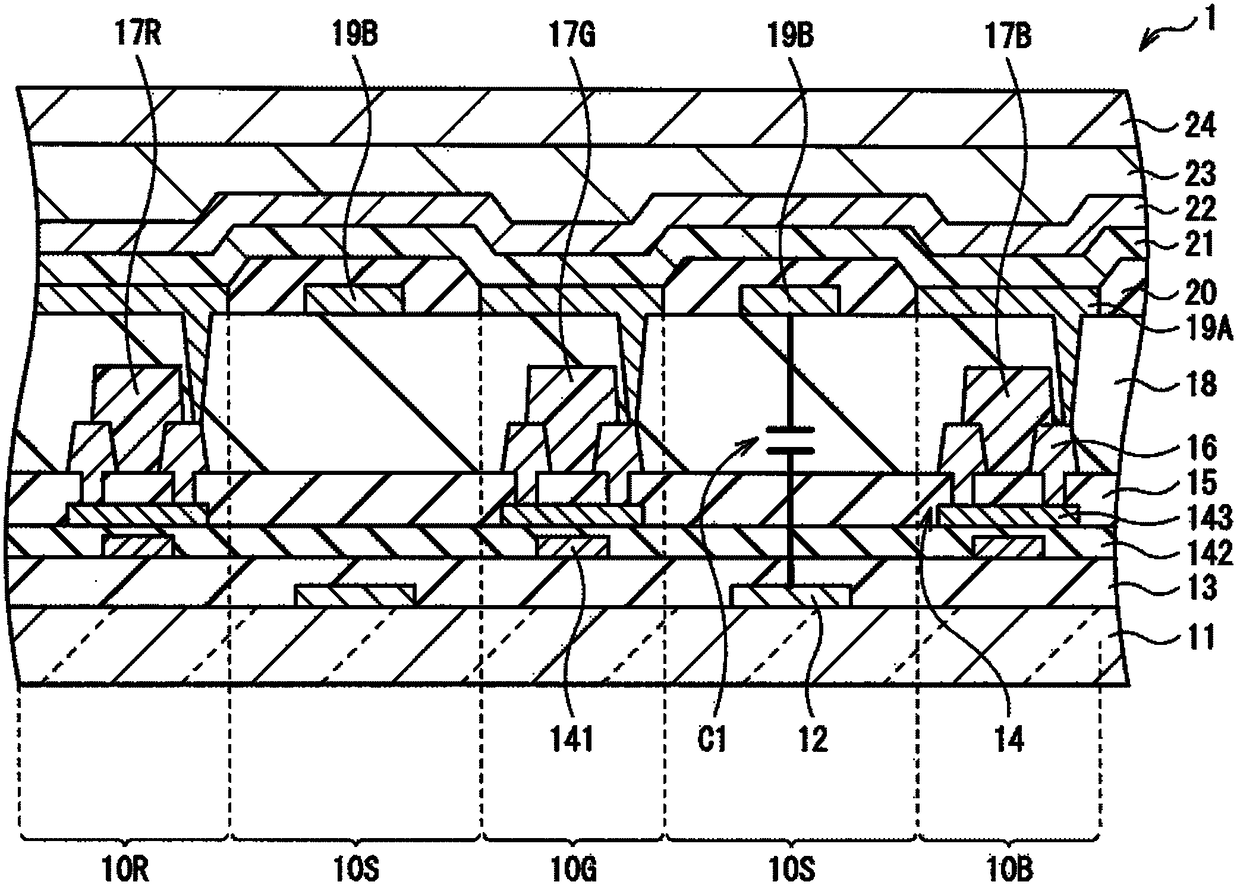
显示设备与电子装置
授权日
1900-01-01
公开(公告)号
CN102738199A
申请日
2012-03-23
公开(公告)日
2012-10-17
当前申请(专利权)人
株式会社日本有机雷特显示器
发明人
寺口晋一 | 古立学 | 卢星熙 | 尾本启介
简单同族
CN102738199A | CN102738199B | JP2012212076A | JP2012212076A5 | JP5789113B2 | TW201301613A | TWI485902B | US20120249454A1 | US8970520
简单同族成员数量
9
简单同族被引用专利总数
180
诉讼案件数
0
法律状态/事件
授权 | 权利转移
抱歉,您的浏览器不支持PDF预览,请点击链接下载PDF文件