专利数据库
统计分析
产业报告
专利数据监控
产业人才
行业动态
产业政策法规
维权援助
个人中心
详情
文本
图像
标题
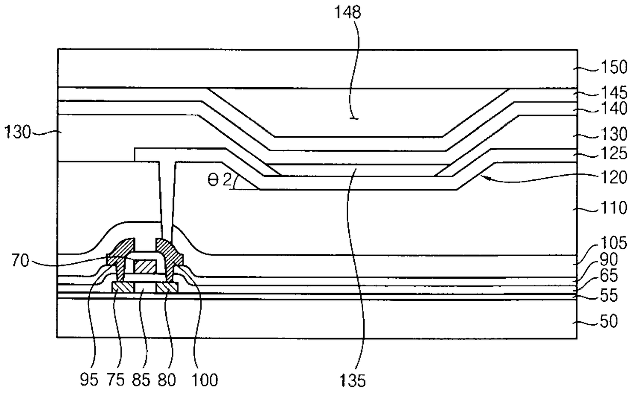
形成倾斜结构的方法、有机发光显示装置及其制造方法
授权日
1900-01-01
公开(公告)号
CN103000823A
申请日
2012-06-29
公开(公告)日
2013-03-27
当前申请(专利权)人
三星显示有限公司
发明人
林载翊 | 朴源祥 | 白守珉 | 金敏佑 | 金一南 | 金在经
简单同族
CN103000823A | CN103000823B | CN105514144A | CN105514144B | KR101881133B1 | KR1020130007421A | TW201306249A | TWI565049B
简单同族成员数量
8
简单同族被引用专利总数
52
诉讼案件数
0
法律状态/事件
授权
抱歉,您的浏览器不支持PDF预览,请点击链接下载PDF文件