专利数据库
统计分析
产业报告
专利数据监控
产业人才
行业动态
产业政策法规
维权援助
个人中心
详情
文本
图像
标题
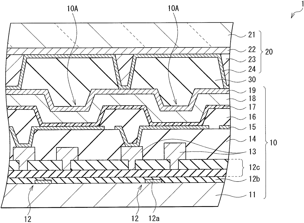
有机电致发光显示单元、其制造方法以及滤色片基板
授权日
1900-01-01
公开(公告)号
CN103325812A
申请日
2013-03-14
公开(公告)日
2013-09-25
当前申请(专利权)人
株式会社日本有机雷特显示器
发明人
山北茂洋 | 山田二郎 | 石井孝英 | 荒井俊明
简单同族
CN103325812A | CN103325812B | JP2013196919A | JP2013196919A5 | KR1020130107225A | TW201340309A | TWI553851B | US20140077171A1 | US9425241
简单同族成员数量
9
简单同族被引用专利总数
48
诉讼案件数
0
法律状态/事件
授权 | 权利转移
抱歉,您的浏览器不支持PDF预览,请点击链接下载PDF文件