专利数据库
统计分析
产业报告
专利数据监控
产业人才
行业动态
产业政策法规
维权援助
个人中心
详情
文本
图像
标题
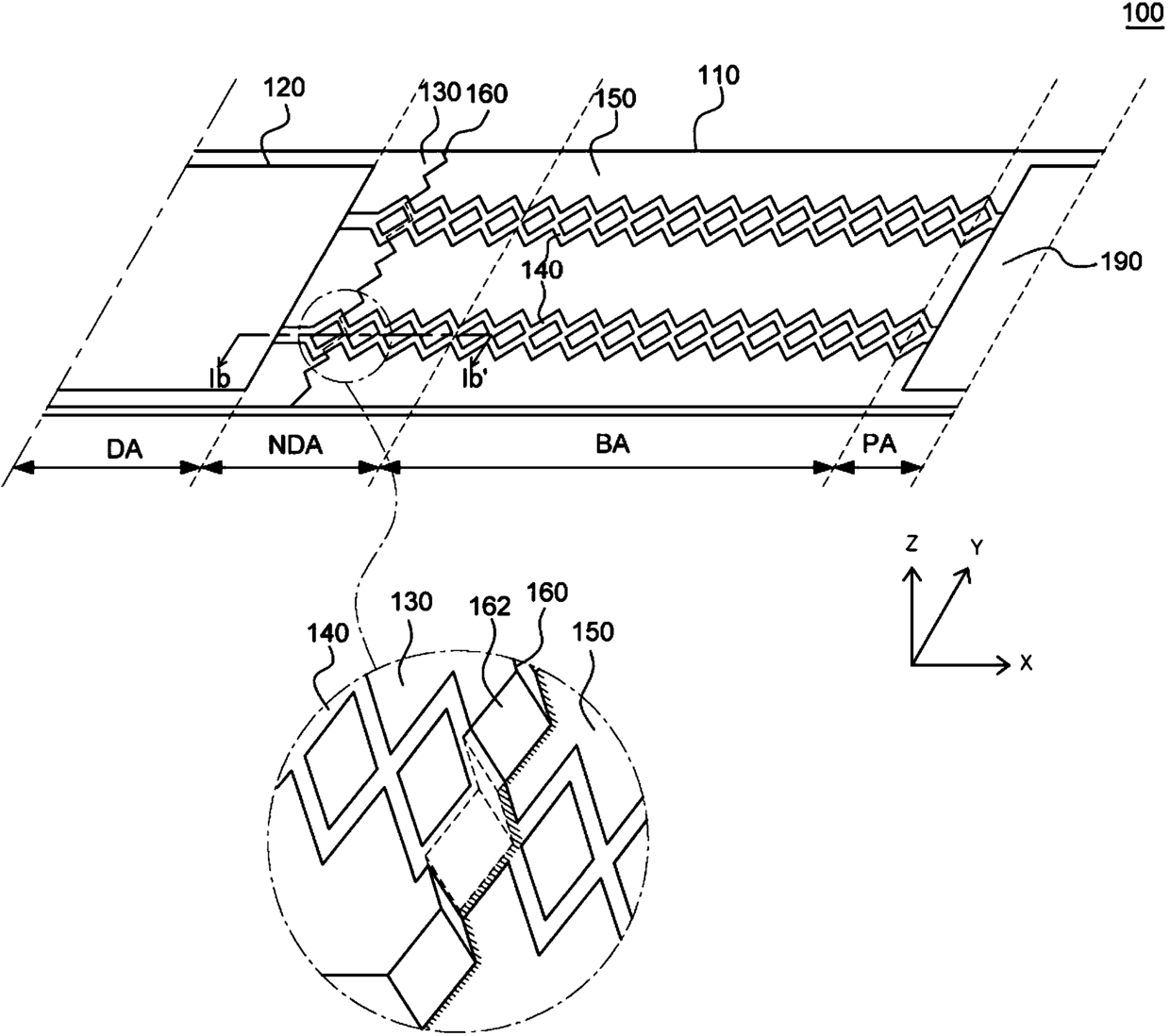
柔性有机发光显示器及其制造方法
授权日
1900-01-01
公开(公告)号
CN104733498A
申请日
2014-12-19
公开(公告)日
2015-06-24
当前申请(专利权)人
乐金显示有限公司
发明人
权世烈 | 尹相天 | 李塞穆里诺利
简单同族
CN104733498A | CN104733498B | KR1020150074808A | KR102085961B1 | US20150179728A1 | US9287342
简单同族成员数量
6
简单同族被引用专利总数
71
诉讼案件数
0
法律状态/事件
授权
抱歉,您的浏览器不支持PDF预览,请点击链接下载PDF文件