专利数据库
统计分析
产业报告
专利数据监控
产业人才
行业动态
产业政策法规
维权援助
个人中心
详情
文本
图像
标题
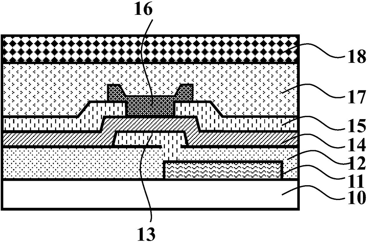
一种有机发光二极管显示器及其制作方法
授权日
2019-02-26
公开(公告)号
CN106024845B
申请日
2016-08-01
公开(公告)日
2019-02-26
当前申请(专利权)人
深圳市华星光电技术有限公司
发明人
曾勉 | 陈书志
简单同族
CN106024845A | CN106024845B
简单同族成员数量
2
简单同族被引用专利总数
0
诉讼案件数
0
法律状态/事件
授权
抱歉,您的浏览器不支持PDF预览,请点击链接下载PDF文件