专利数据库
统计分析
产业报告
专利数据监控
产业人才
行业动态
产业政策法规
维权援助
个人中心
详情
文本
图像
标题
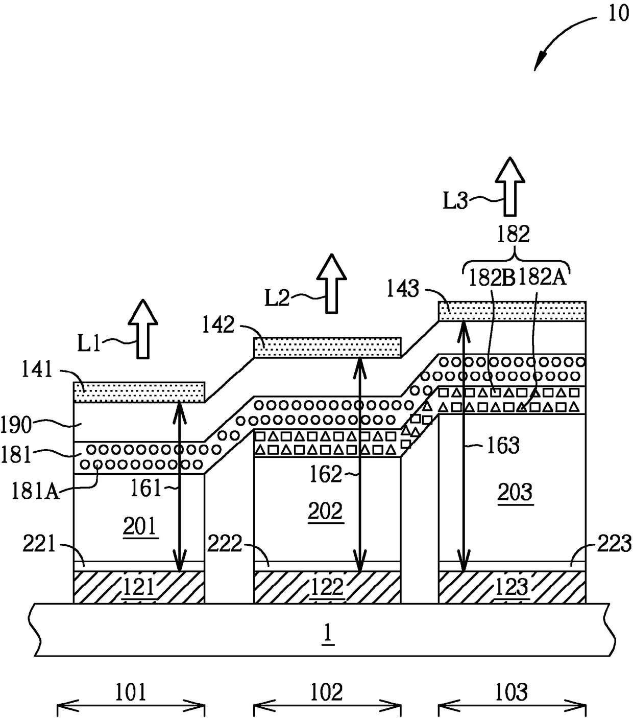
电激发光显示面板的画素结构
授权日
1900-01-01
公开(公告)号
CN103050630A
申请日
2012-05-24
公开(公告)日
2013-04-17
当前申请(专利权)人
友达光电股份有限公司
发明人
李孟庭 | 朱妙采
简单同族
CN103050630A | TW201324891A | US20130140533A1 | US8946735
简单同族成员数量
4
简单同族被引用专利总数
67
诉讼案件数
0
法律状态/事件
撤回
抱歉,您的浏览器不支持PDF预览,请点击链接下载PDF文件