专利数据库
统计分析
产业报告
专利数据监控
产业人才
行业动态
产业政策法规
维权援助
个人中心
详情
文本
图像
标题
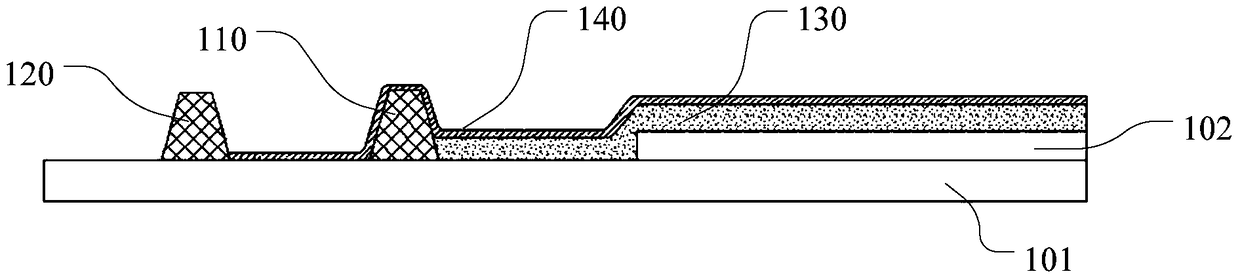
有机发光显示面板及其形成方法
授权日
2019-02-05
公开(公告)号
CN104900681B
申请日
2015-06-09
公开(公告)日
2019-02-05
当前申请(专利权)人
上海天马有机发光显示技术有限公司 | 天马微电子股份有限公司
发明人
徐朝哲 | 方俊雄
简单同族
CN104900681A | CN104900681B | DE102016110534A1 | US10038035 | US20160365395A1
简单同族成员数量
5
简单同族被引用专利总数
74
诉讼案件数
0
法律状态/事件
授权
抱歉,您的浏览器不支持PDF预览,请点击链接下载PDF文件