专利数据库
统计分析
产业报告
专利数据监控
产业人才
行业动态
产业政策法规
维权援助
个人中心
详情
文本
图像
标题
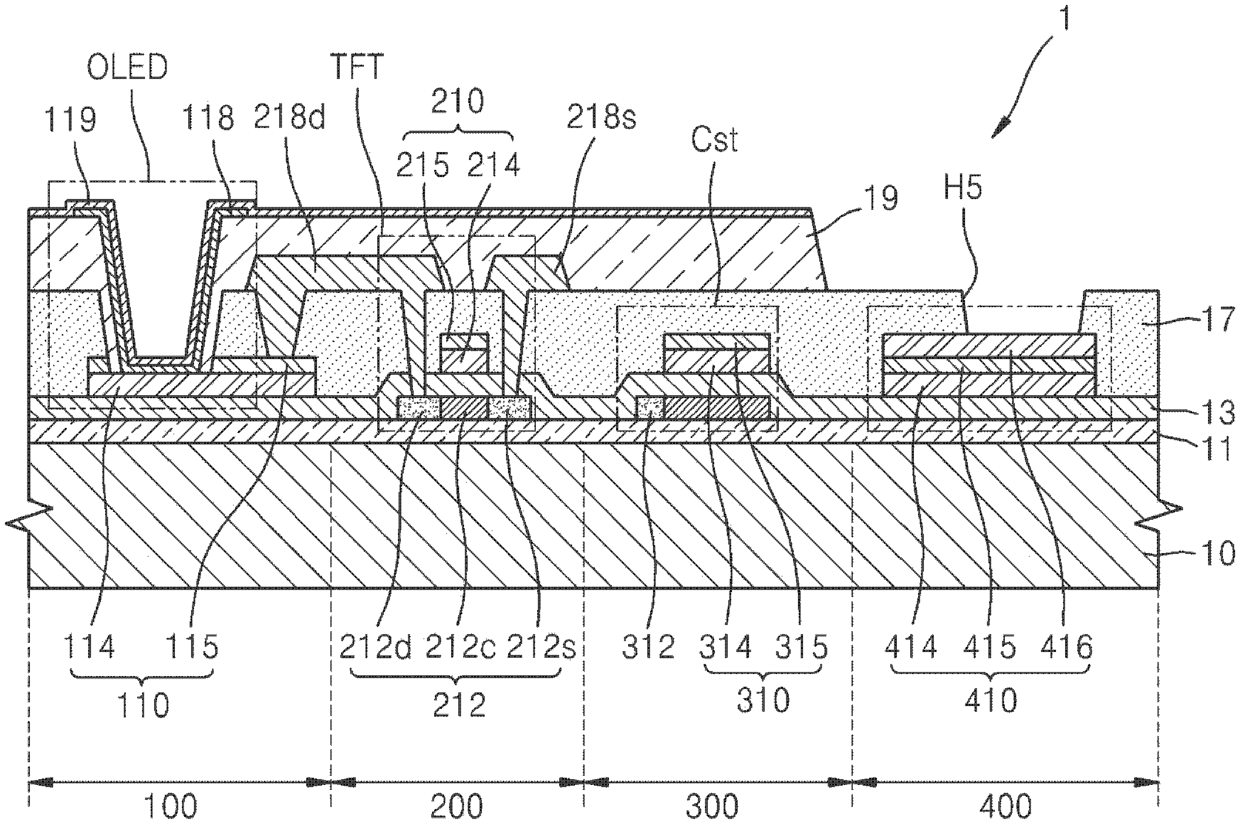
有机发光显示装置及其制造方法
授权日
2016-06-15
公开(公告)号
CN102856506B
申请日
2012-03-01
公开(公告)日
2016-06-15
当前申请(专利权)人
三星显示有限公司
发明人
崔钟炫 | 吴在焕
简单同族
CN102856506A | CN102856506B | KR101815256B1 | KR1020130007050A | TW201301364A | TWI540619B | US20130001564A1 | US20150171152A1 | US9000523 | US9184222
简单同族成员数量
10
简单同族被引用专利总数
53
诉讼案件数
0
法律状态/事件
授权
抱歉,您的浏览器不支持PDF预览,请点击链接下载PDF文件