专利数据库
统计分析
产业报告
专利数据监控
产业人才
行业动态
产业政策法规
维权援助
个人中心
详情
文本
图像
标题
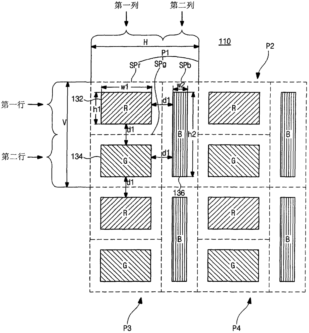
有机电致发光显示器件
授权日
1900-01-01
公开(公告)号
CN102403334A
申请日
2011-09-08
公开(公告)日
2012-04-04
当前申请(专利权)人
乐金显示有限公司
发明人
朴钟贤 | 柳俊锡 | 金钟成 | 李康柱
简单同族
CN102403334A | CN102403334B | DE102011053276A1 | DE102011053276B4 | GB201115490D0 | GB2483764A | GB2483764A8 | GB2483764B | KR101257734B1 | KR1020120025885A | US20120056531A1 | US20140042418A1 | US8593057 | US8786182
简单同族成员数量
14
简单同族被引用专利总数
93
诉讼案件数
0
法律状态/事件
授权
抱歉,您的浏览器不支持PDF预览,请点击链接下载PDF文件