专利数据库
统计分析
产业报告
专利数据监控
产业人才
行业动态
产业政策法规
维权援助
个人中心
详情
文本
图像
标题
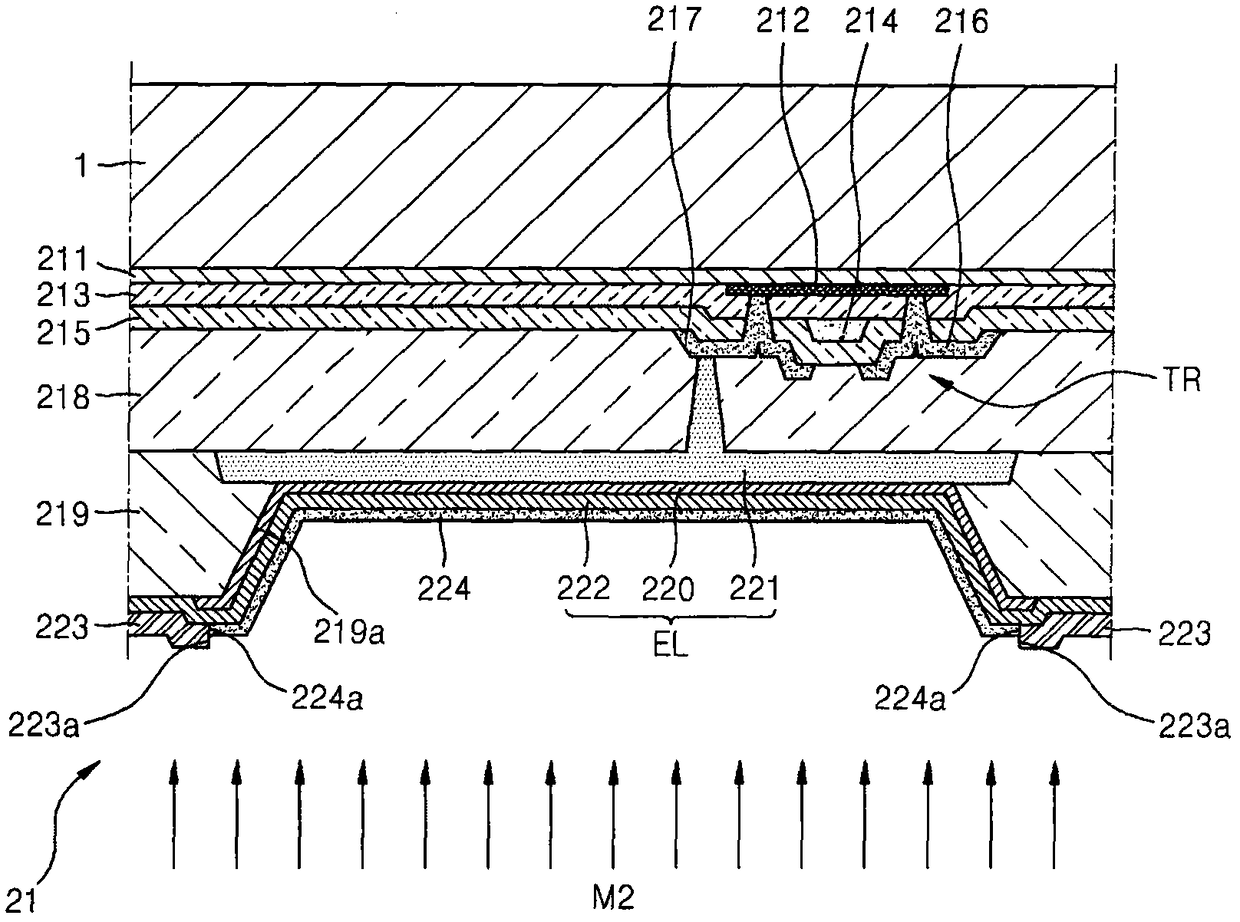
有机发光显示装置及其制造方法
授权日
1900-01-01
公开(公告)号
CN102856505A
申请日
2012-02-01
公开(公告)日
2013-01-02
当前申请(专利权)人
三星显示有限公司
发明人
郑镇九 | 崔俊呼 | 金星民
简单同族
CN102856505A | CN102856505B | EP2530717A2 | EP2530717A3 | JP2012253015A | JP6084781B2 | KR101407587B1 | KR1020120134464A | TW201251003A | TWI565047B | US20120313099A1 | US8872206
简单同族成员数量
12
简单同族被引用专利总数
60
诉讼案件数
0
法律状态/事件
授权
抱歉,您的浏览器不支持PDF预览,请点击链接下载PDF文件