专利数据库
统计分析
产业报告
专利数据监控
产业人才
行业动态
产业政策法规
维权援助
个人中心
详情
文本
图像
标题
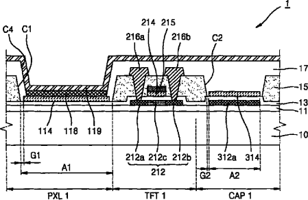
有机发光显示装置及其制造方法
授权日
1900-01-01
公开(公告)号
CN102447074A
申请日
2011-08-23
公开(公告)日
2012-05-09
当前申请(专利权)人
三星显示有限公司
发明人
李律圭 | 柳春其 | 朴鲜 | 朴钟贤 | 金大宇
简单同族
CN102447074A | CN102447074B | KR101372852B1 | KR1020120035419A | TW201227949A | TWI555188B | US20120080663A1 | US8378352
简单同族成员数量
8
简单同族被引用专利总数
47
诉讼案件数
0
法律状态/事件
授权 | 权利转移
抱歉,您的浏览器不支持PDF预览,请点击链接下载PDF文件