专利数据库
统计分析
产业报告
专利数据监控
产业人才
行业动态
产业政策法规
维权援助
个人中心
详情
文本
图像
标题
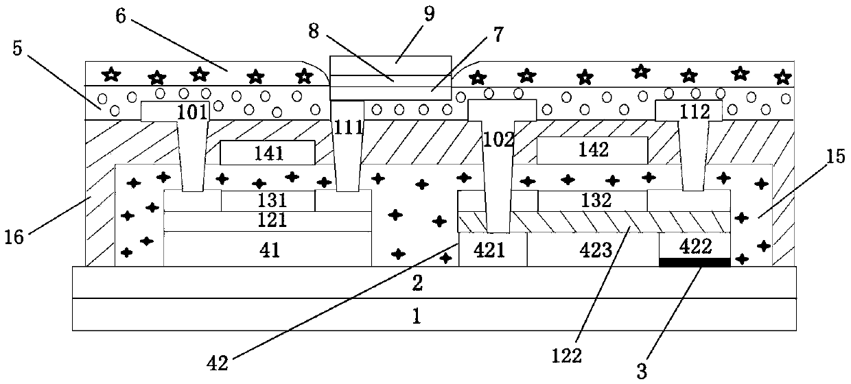
一种有机发光显示面板及其制造方法
授权日
1900-01-01
公开(公告)号
CN109686774A
申请日
2019-01-04
公开(公告)日
2019-04-26
当前申请(专利权)人
京东方科技集团股份有限公司
发明人
高宇鹏 | 王利忠 | 赵磊 | 杜建华 | 强朝辉 | 李超 | 刘松 | 李士佩 | 王治
简单同族
CN109686774A
简单同族成员数量
1
简单同族被引用专利总数
0
诉讼案件数
0
法律状态/事件
实质审查
抱歉,您的浏览器不支持PDF预览,请点击链接下载PDF文件