专利数据库
统计分析
产业报告
专利数据监控
产业人才
行业动态
产业政策法规
维权援助
个人中心
详情
文本
图像
标题
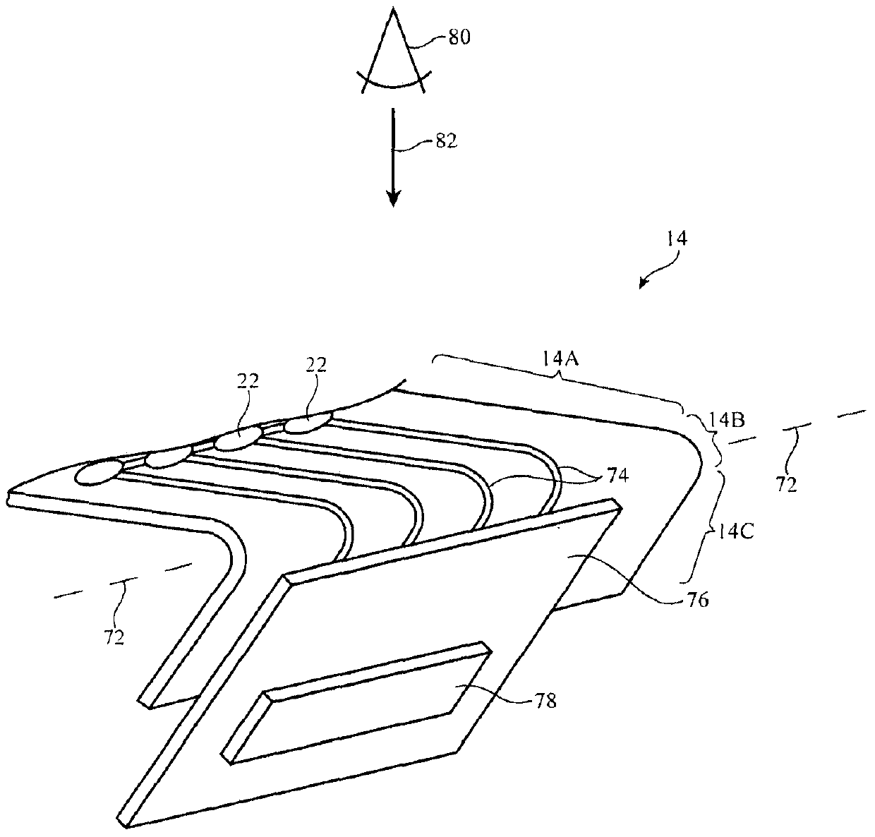
具有弯曲基板的有机发光二极管显示器
授权日
2019-04-12
公开(公告)号
CN105789252B
申请日
2015-12-30
公开(公告)日
2019-04-12
当前申请(专利权)人
苹果公司
发明人
陶诣 | 张震 | 金民圭 | 崔宰源 | 朴英培 | J·G·沃泽尔 | P·S·德瑞扎伊 | 张世昌
简单同族
CN105789252A | CN105789252B | US20160204183A1 | US9773853 | WO2016111895A1
简单同族成员数量
5
简单同族被引用专利总数
57
诉讼案件数
0
法律状态/事件
授权
抱歉,您的浏览器不支持PDF预览,请点击链接下载PDF文件