专利数据库
统计分析
产业报告
专利数据监控
产业人才
行业动态
产业政策法规
维权援助
个人中心
详情
文本
图像
标题
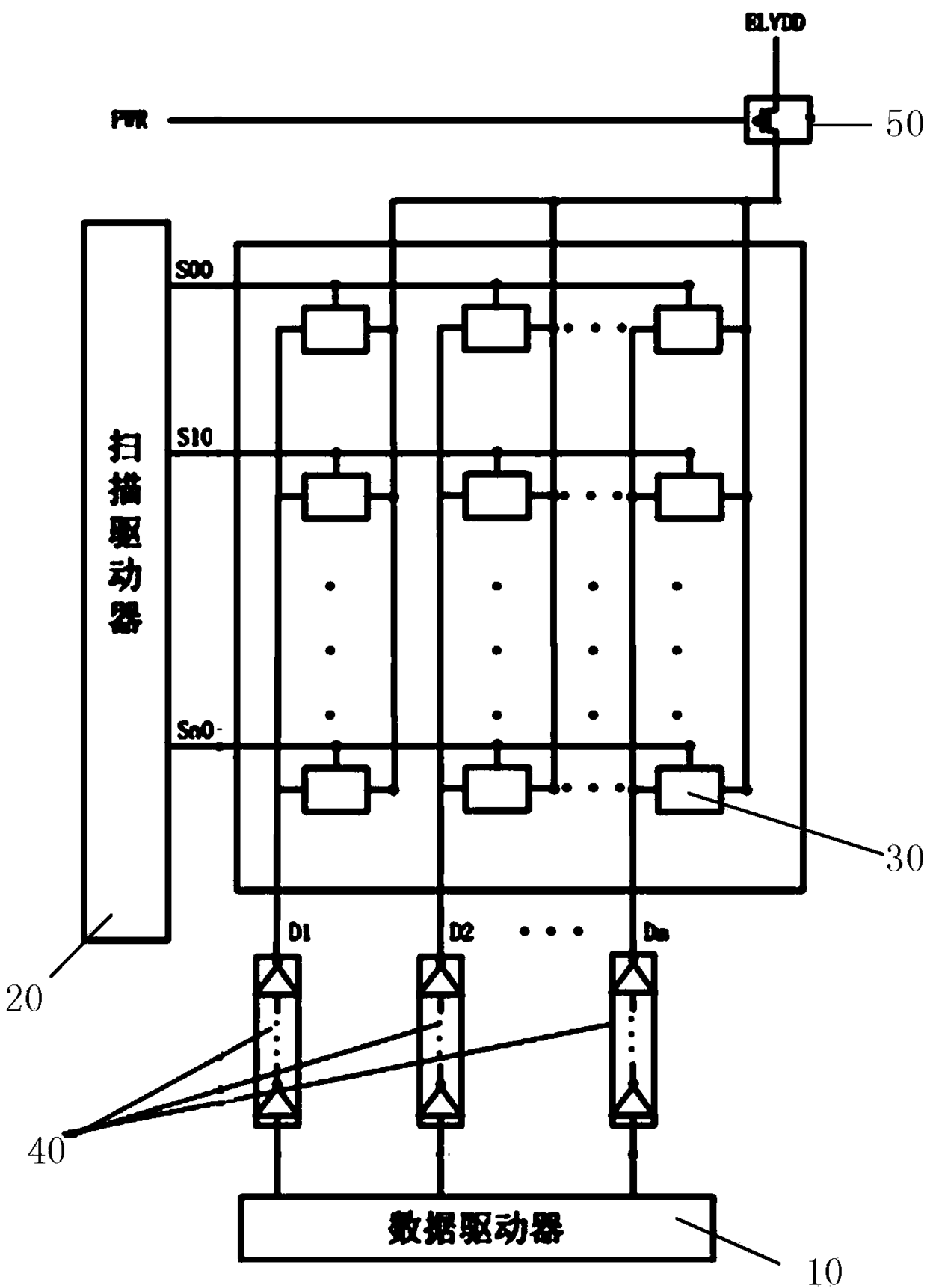
有源有机发光显示器及其驱动电路
授权日
1900-01-01
公开(公告)号
CN104409041A
申请日
2014-12-02
公开(公告)日
2015-03-11
当前申请(专利权)人
昆山工研院新型平板显示技术中心有限公司 | 昆山国显光电有限公司
发明人
朱晖 | 张小宝 | 刘晓佳 | 郭瑞
简单同族
CN104409041A
简单同族成员数量
1
简单同族被引用专利总数
0
诉讼案件数
0
法律状态/事件
驳回
抱歉,您的浏览器不支持PDF预览,请点击链接下载PDF文件