专利数据库
统计分析
产业报告
专利数据监控
产业人才
行业动态
产业政策法规
维权援助
个人中心
详情
文本
图像
标题
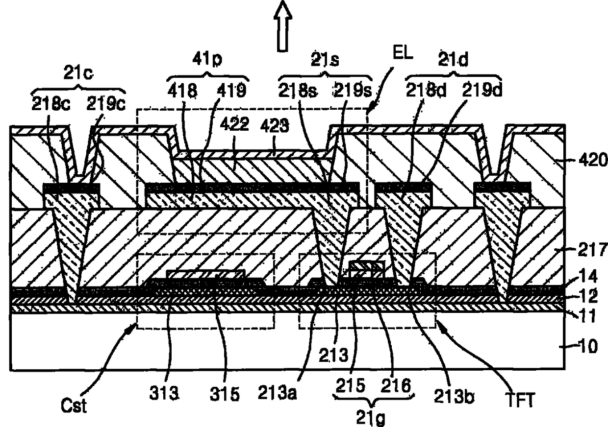
有机发光显示装置及其制造方法
授权日
1900-01-01
公开(公告)号
CN102544054A
申请日
2011-08-08
公开(公告)日
2012-07-04
当前申请(专利权)人
三星显示有限公司
发明人
柳春其 | 崔埈厚
简单同族
CN102544054A | CN102544054B | JP2012129197A | JP6073547B2 | KR101889918B1 | KR1020120066492A | TW201225282A | TWI535002B | US20120146030A1 | US8659021
简单同族成员数量
10
简单同族被引用专利总数
76
诉讼案件数
0
法律状态/事件
授权 | 权利转移
抱歉,您的浏览器不支持PDF预览,请点击链接下载PDF文件