专利数据库
统计分析
产业报告
专利数据监控
产业人才
行业动态
产业政策法规
维权援助
个人中心
详情
文本
图像
标题
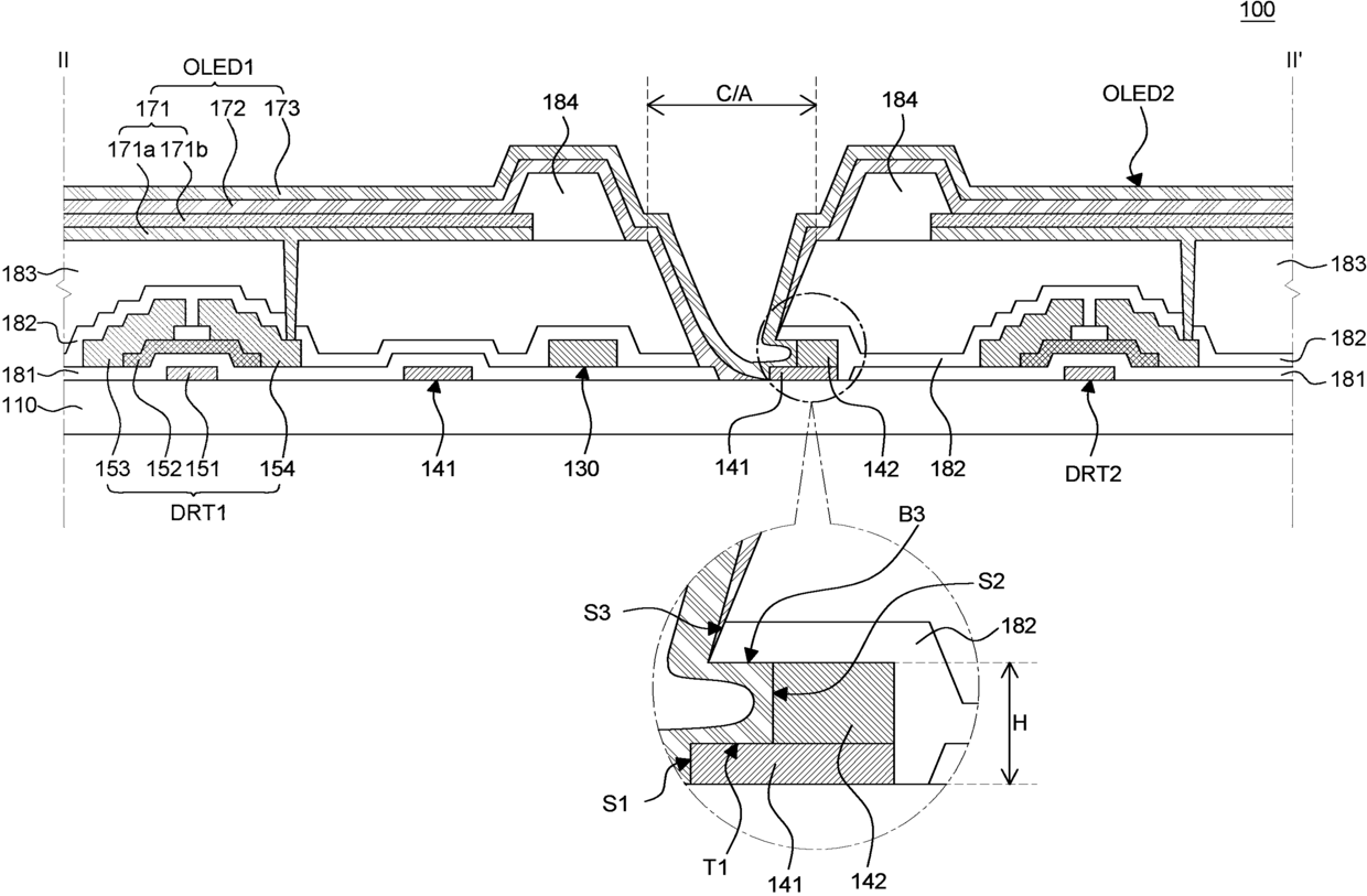
有机发光显示设备和制造该有机发光显示设备的方法
授权日
1900-01-01
公开(公告)号
CN106206645A
申请日
2015-06-16
公开(公告)日
2016-12-07
当前申请(专利权)人
乐金显示有限公司
发明人
金京满
简单同族
CN106206645A | CN106206645B | EP3026724A1 | EP3026724B1 | KR1020160062646A | US20160149155A1 | US9859520
简单同族成员数量
7
简单同族被引用专利总数
56
诉讼案件数
0
法律状态/事件
授权
抱歉,您的浏览器不支持PDF预览,请点击链接下载PDF文件