专利数据库
统计分析
产业报告
专利数据监控
产业人才
行业动态
产业政策法规
维权援助
个人中心
详情
文本
图像
标题
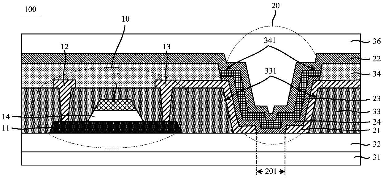
有机发光显示面板和有机发光显示装置
授权日
1900-01-01
公开(公告)号
CN110391283A
申请日
2019-07-31
公开(公告)日
2019-10-29
当前申请(专利权)人
上海天马微电子有限公司
发明人
迟霄 | 符鞠建 | 吴天一 | 禹少荣
简单同族
CN110391283A
简单同族成员数量
1
简单同族被引用专利总数
0
诉讼案件数
0
法律状态/事件
实质审查
抱歉,您的浏览器不支持PDF预览,请点击链接下载PDF文件