专利数据库
统计分析
产业报告
专利数据监控
产业人才
行业动态
产业政策法规
维权援助
个人中心
详情
文本
图像
标题
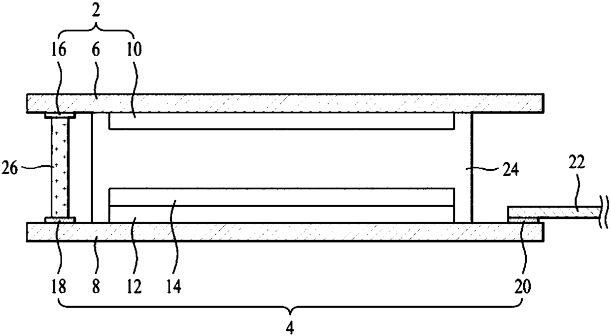
带有内置触摸面板的有机发光二极管显示器
授权日
1900-01-01
公开(公告)号
CN105304680A
申请日
2011-06-24
公开(公告)日
2016-02-03
当前申请(专利权)人
乐金显示有限公司
发明人
崔浩源
简单同族
CN102299166A | CN105304680A | CN105304680B | KR101756656B1 | KR1020120000133A | US20110316802A1 | US9158396
简单同族成员数量
7
简单同族被引用专利总数
112
诉讼案件数
0
法律状态/事件
授权
抱歉,您的浏览器不支持PDF预览,请点击链接下载PDF文件