专利数据库
统计分析
产业报告
专利数据监控
产业人才
行业动态
产业政策法规
维权援助
个人中心
详情
文本
图像
标题
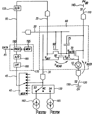
具有老化和效率补偿的OLED显示器
授权日
1900-01-01
公开(公告)号
CN101689349A
申请日
2008-06-13
公开(公告)日
2010-03-31
当前申请(专利权)人
全球OLED科技有限责任公司
发明人
C·I·利维 | G·帕雷特
简单同族
CN101689349A | CN101689349B | EP2160728A1 | EP2160728B1 | JP2010530993A | JP2010530993A5 | JP5209709B2 | KR101243353B1 | KR1020100021482A | TW200912852A | TWI374423B | US20080315788A1 | US7859501 | WO2009002406A1
简单同族成员数量
14
简单同族被引用专利总数
103
诉讼案件数
0
法律状态/事件
授权 | 权利转移
抱歉,您的浏览器不支持PDF预览,请点击链接下载PDF文件