专利数据库
统计分析
产业报告
专利数据监控
产业人才
行业动态
产业政策法规
维权援助
个人中心
详情
文本
图像
标题
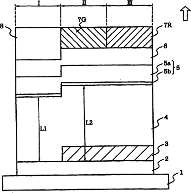
有机EL显示装置及全彩色器件
授权日
1900-01-01
公开(公告)号
CN1939096A
申请日
2005-03-29
公开(公告)日
2007-03-28
当前申请(专利权)人
出光兴产株式会社
发明人
熊均 | 荒金崇士 | 荣田畅 | 细川地潮
简单同族
CN1939096A | EP1737276A1 | EP1737276A4 | JP2005302313A | TW200539746A | US20080272690A1 | WO2005104624A1
简单同族成员数量
7
简单同族被引用专利总数
49
诉讼案件数
0
法律状态/事件
撤回
抱歉,您的浏览器不支持PDF预览,请点击链接下载PDF文件