专利数据库
统计分析
产业报告
专利数据监控
产业人才
行业动态
产业政策法规
维权援助
个人中心
详情
文本
图像
标题
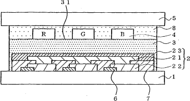
有机EL显示装置及其制造方法
授权日
1900-01-01
公开(公告)号
CN101336021A
申请日
2003-02-05
公开(公告)日
2008-12-31
当前申请(专利权)人
出光兴产株式会社
发明人
熊均 | 荣田畅 | 细川地潮
简单同族
CN100474654C | CN101336020A | CN101336021A | CN101336022A | CN1631058A | EP1476000A1 | JPWO2003069957A1 | KR1020040081783A | TW200400777A | TWI280815B | US20050146266A1 | WO2003069957A1
简单同族成员数量
12
简单同族被引用专利总数
79
诉讼案件数
0
法律状态/事件
撤回
抱歉,您的浏览器不支持PDF预览,请点击链接下载PDF文件