专利数据库
统计分析
产业报告
专利数据监控
产业人才
行业动态
产业政策法规
维权援助
个人中心
详情
文本
图像
标题
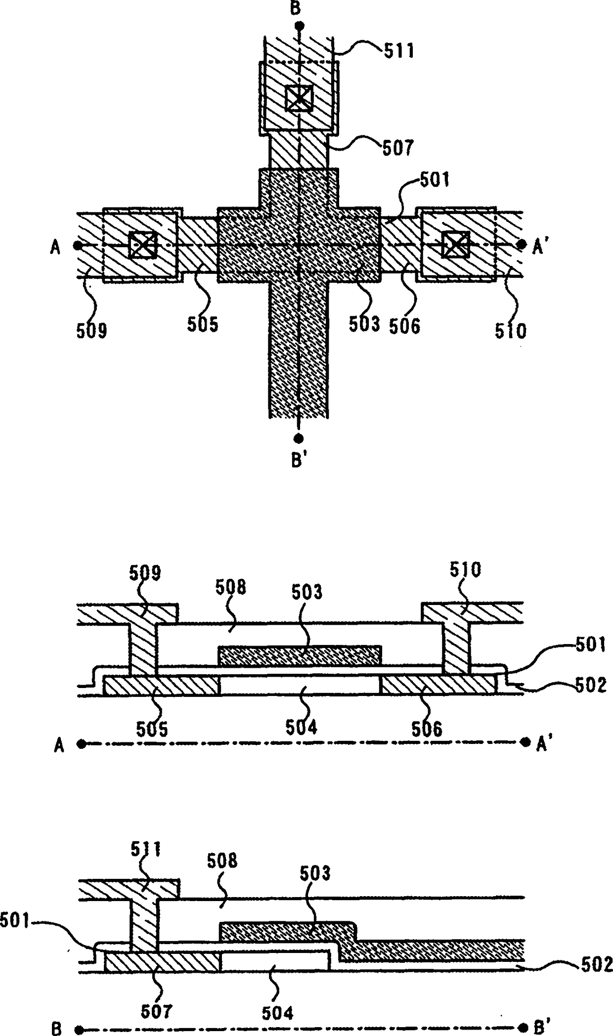
半导体元件、电路、显示器件和发光器件
授权日
2013-02-27
公开(公告)号
CN101789425B
申请日
2002-11-08
公开(公告)日
2013-02-27
当前申请(专利权)人
株式会社半导体能源研究所
发明人
犬饲和隆
简单同族
CN100557800C | CN101789425A | CN101789425B | CN1427479A | JP2003152185A | JP2003152185A5 | JP4202012B2 | KR100950031B1 | KR100950036B1 | KR1020030039309A | KR1020090096381A | TW200408132A | TWI260784B | US20030089910A1 | US20100073352A1 | US7629611 | US9117913
简单同族成员数量
17
简单同族被引用专利总数
59
诉讼案件数
0
法律状态/事件
未缴年费
抱歉,您的浏览器不支持PDF预览,请点击链接下载PDF文件