专利数据库
统计分析
产业报告
专利数据监控
产业人才
行业动态
产业政策法规
维权援助
个人中心
详情
文本
图像
标题
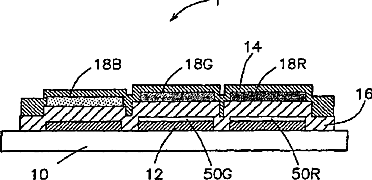
彩色有机EL显示器及其制造方法
授权日
1900-01-01
公开(公告)号
CN1713789A
申请日
2005-06-21
公开(公告)日
2005-12-28
当前申请(专利权)人
奇美电子股份有限公司 | 京瓷株式会社
发明人
田中淳 | 村山浩二
简单同族
CN100401549C | CN1713789A | JP2006012579A | JP4507718B2 | TW200601897A | TWI264965B | US20050285508A1 | US7259514
简单同族成员数量
8
简单同族被引用专利总数
65
诉讼案件数
0
法律状态/事件
授权
抱歉,您的浏览器不支持PDF预览,请点击链接下载PDF文件