专利数据库
统计分析
产业报告
专利数据监控
产业人才
行业动态
产业政策法规
维权援助
个人中心
详情
文本
图像
标题
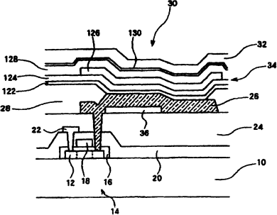
有机EL显示面板
授权日
1900-01-01
公开(公告)号
CN1832195A
申请日
2006-02-28
公开(公告)日
2006-09-13
当前申请(专利权)人
三洋电机株式会社
发明人
西川龙司 | 小村哲司 | 中井正也
简单同族
CN100438068C | CN1832195A | JP2006236947A | JP4573672B2 | KR1020060095494A | TW200631466A | TWI336212B | US20060192220A1 | US20120112234A1 | US8129712
简单同族成员数量
10
简单同族被引用专利总数
74
诉讼案件数
0
法律状态/事件
授权
抱歉,您的浏览器不支持PDF预览,请点击链接下载PDF文件