专利数据库
统计分析
产业报告
专利数据监控
产业人才
行业动态
产业政策法规
维权援助
个人中心
详情
文本
图像
标题
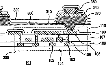
有机EL显示装置及其制造方法
授权日
1900-01-01
公开(公告)号
CN101340754A
申请日
2008-07-03
公开(公告)日
2009-01-07
当前申请(专利权)人
佳能株式会社
发明人
高田健司
简单同族
CN101340754A | CN101340754B | JP2009032673A | JP2009032673A5 | JP5008606B2 | KR100970607B1 | KR1020090004672A
简单同族成员数量
7
简单同族被引用专利总数
49
诉讼案件数
0
法律状态/事件
未缴年费
抱歉,您的浏览器不支持PDF预览,请点击链接下载PDF文件