专利数据库
统计分析
产业报告
专利数据监控
产业人才
行业动态
产业政策法规
维权援助
个人中心
详情
文本
图像
标题
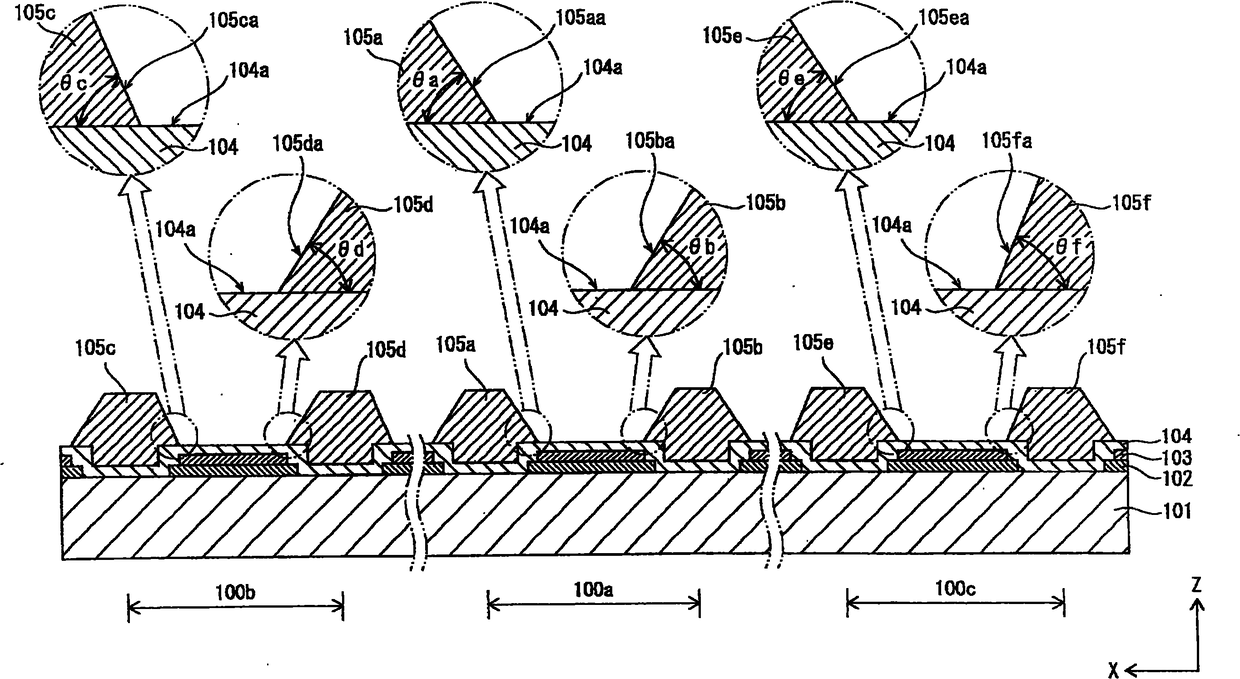
显示装置及其制造方法
授权日
1900-01-01
公开(公告)号
CN102165593A
申请日
2009-12-22
公开(公告)日
2011-08-24
当前申请(专利权)人
株式会社日本有机雷特显示器
发明人
松岛英晃
简单同族
CN102165593A | CN102165593B | JP5574114B2 | JPWO2011077479A1 | KR101539479B1 | KR1020120113302A | US20110180821A1 | US8546820 | WO2011077479A1
简单同族成员数量
9
简单同族被引用专利总数
55
诉讼案件数
0
法律状态/事件
授权 | 权利转移
抱歉,您的浏览器不支持PDF预览,请点击链接下载PDF文件