专利数据库
统计分析
产业报告
专利数据监控
产业人才
行业动态
产业政策法规
维权援助
个人中心
详情
文本
图像
标题
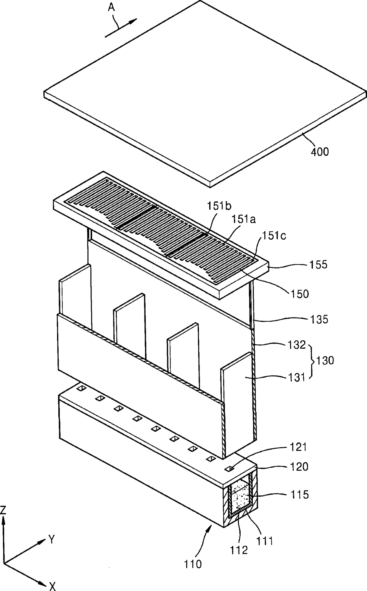
薄膜沉积设备和制造有机发光显示装置的方法
授权日
2014-08-20
公开(公告)号
CN101997092B
申请日
2010-08-25
公开(公告)日
2014-08-20
当前申请(专利权)人
三星显示有限公司
发明人
柳在光 | 朴铉淑 | 李润美 | 金钟宪 | 金相洙 | 吴枝淑
简单同族
CN101997092A | CN101997092B | DE102010039725A1 | JP2011047035A | JP5328726B2 | US20110053300A1 | US8968829
简单同族成员数量
7
简单同族被引用专利总数
113
诉讼案件数
0
法律状态/事件
授权 | 权利转移
抱歉,您的浏览器不支持PDF预览,请点击链接下载PDF文件