专利数据库
统计分析
产业报告
专利数据监控
产业人才
行业动态
产业政策法规
维权援助
个人中心
详情
文本
图像
标题
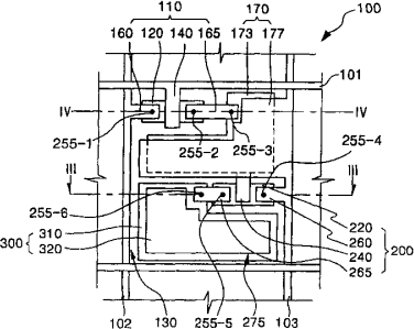
平板显示器及其制造方法
授权日
1900-01-01
公开(公告)号
CN1381899A
申请日
2002-04-11
公开(公告)日
2002-11-27
当前申请(专利权)人
三星显示有限公司
发明人
金琴男
简单同族
CN1220268C | CN1381899A | KR100495702B1 | KR1020020079187A | US20020149710A1 | US20060011918A1 | US20060035397A1 | US6958252 | US7264981 | US7319243
简单同族成员数量
10
简单同族被引用专利总数
63
诉讼案件数
0
法律状态/事件
授权 | 权利转移
抱歉,您的浏览器不支持PDF预览,请点击链接下载PDF文件