专利数据库
统计分析
产业报告
专利数据监控
产业人才
行业动态
产业政策法规
维权援助
个人中心
详情
文本
图像
标题
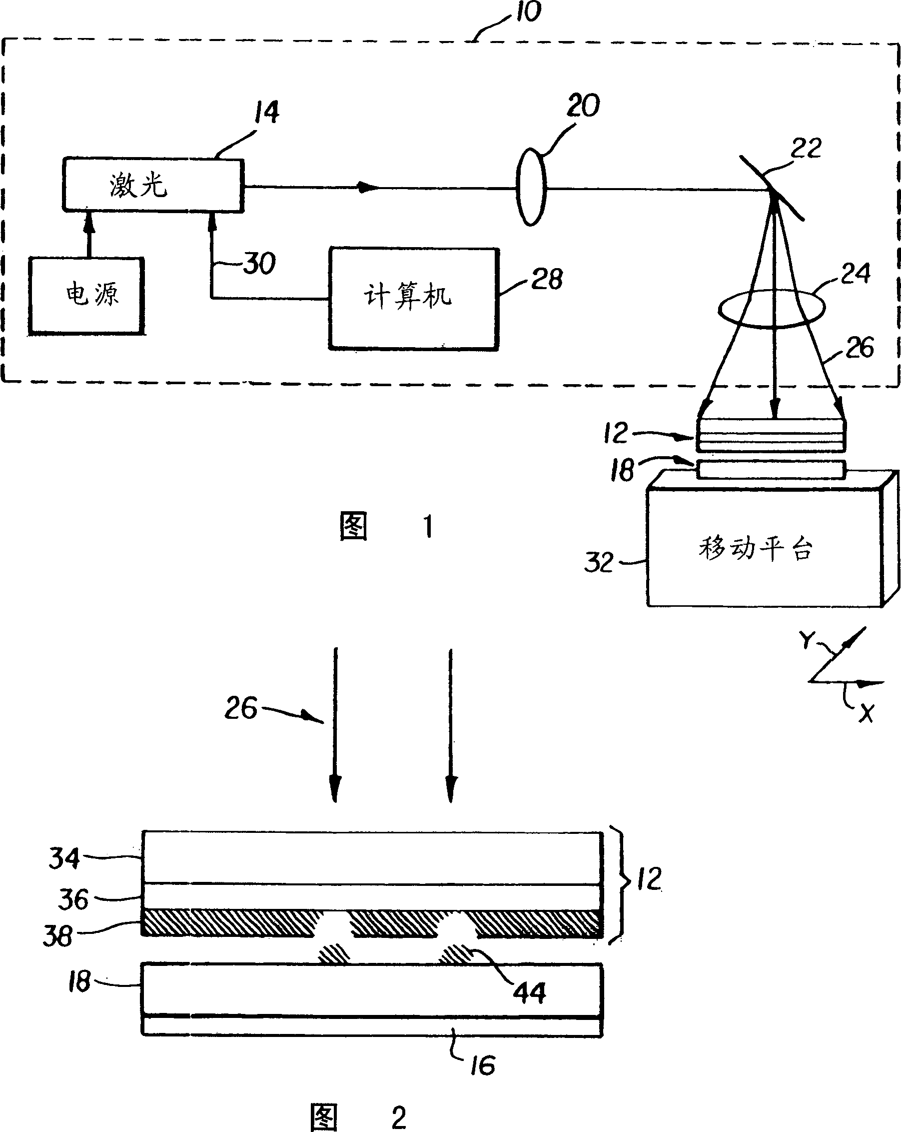
制造电致发光显示器件的方法
授权日
1900-01-01
公开(公告)号
CN1436025A
申请日
2003-01-30
公开(公告)日
2003-08-13
当前申请(专利权)人
全球OLED科技有限责任公司
发明人
M・S・伯贝里 | L・W・图特 | M・W・卡尔弗 | C・W・邓
简单同族
CN100416849C | CN1436025A | EP1335637A1 | EP1335637B1 | JP2003229259A | KR100910438B1 | KR1020030065371A | TW200302679A | TWI259738B | US6610455
简单同族成员数量
10
简单同族被引用专利总数
113
诉讼案件数
0
法律状态/事件
授权 | 权利转移
抱歉,您的浏览器不支持PDF预览,请点击链接下载PDF文件