专利数据库
统计分析
产业报告
专利数据监控
产业人才
行业动态
产业政策法规
维权援助
个人中心
详情
文本
图像
标题
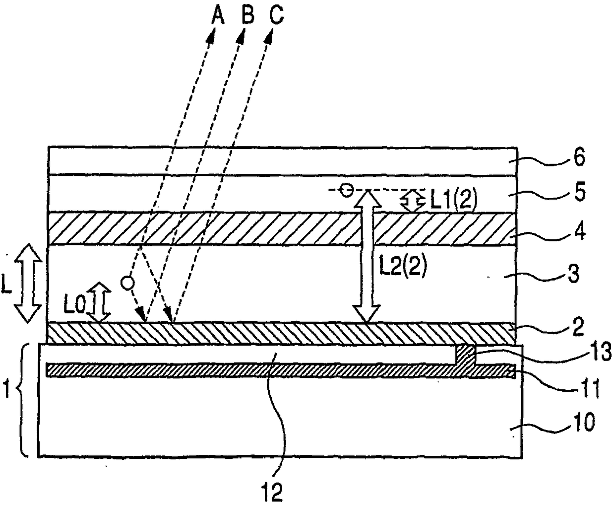
发光显示装置
授权日
2012-07-18
公开(公告)号
CN102077386B
申请日
2009-06-30
公开(公告)日
2012-07-18
当前申请(专利权)人
佳能株式会社
发明人
桧垣卓也 | 北山宏之 | 长谷川利则 | 古郡学 | 木村俊秀
简单同族
CN102077386A | CN102077386B | JP2011018451A | JP2011018451A5 | US20110114981A1 | WO2010002031A1
简单同族成员数量
6
简单同族被引用专利总数
47
诉讼案件数
0
法律状态/事件
授权
抱歉,您的浏览器不支持PDF预览,请点击链接下载PDF文件