专利数据库
统计分析
产业报告
专利数据监控
产业人才
行业动态
产业政策法规
维权援助
个人中心
详情
文本
图像
标题
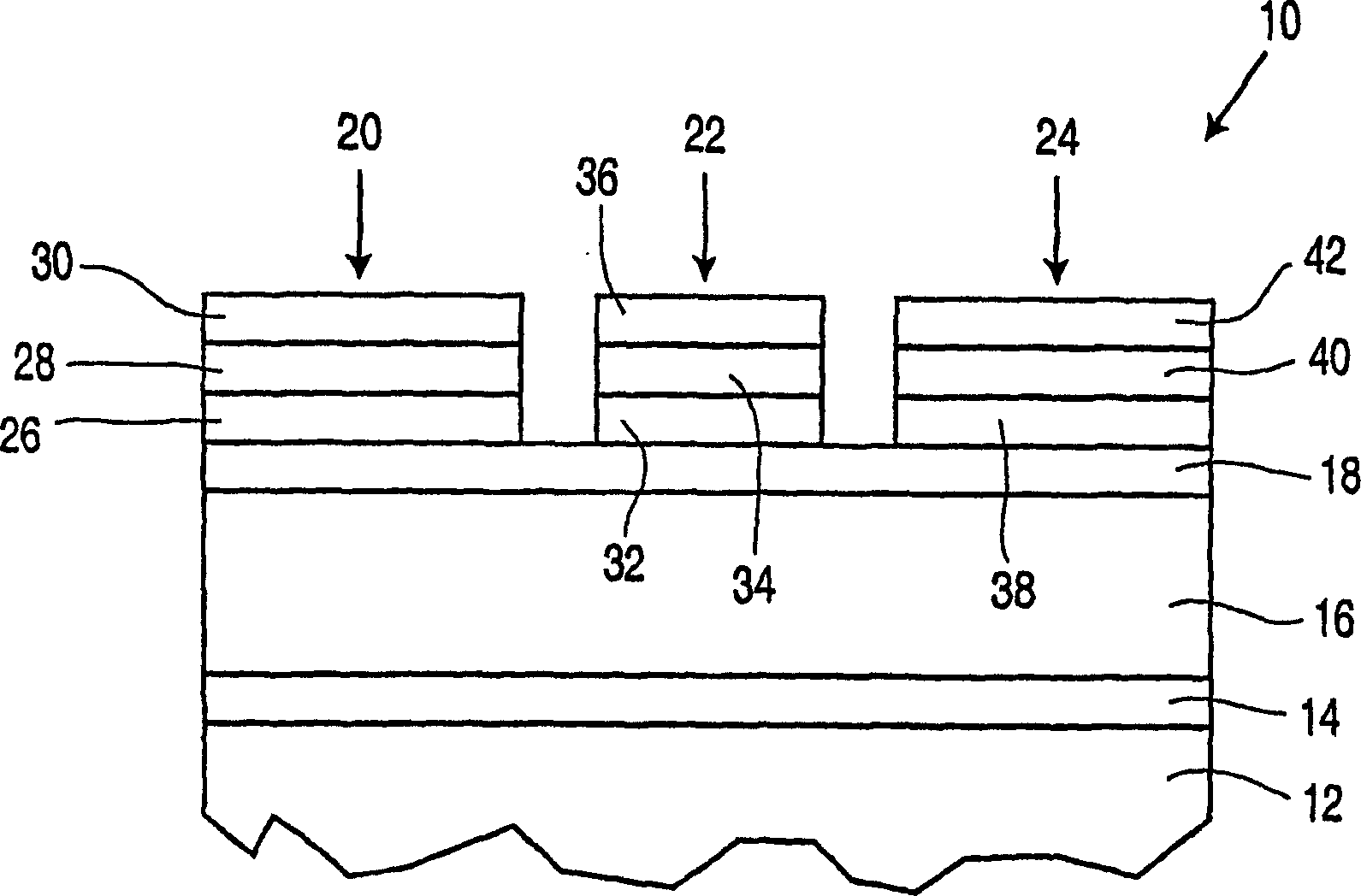
用于厚膜电致发光显示器的插入层
授权日
1900-01-01
公开(公告)号
CN1486581A
申请日
2002-01-10
公开(公告)日
2004-03-31
当前申请(专利权)人
伊菲雷知识产权公司
发明人
李午 | 辛永保 | 迈克尔R·韦斯科特
简单同族
AT434370T | CA2434335A1 | CA2434335C | CN100484354C | CN1486581A | DE60232639D1 | EP1352545A2 | EP1352545B1 | JP2004520691A | KR100856970B1 | KR1020030081387A | US20020094451A1 | US6589674 | WO2002058438A2 | WO2002058438A3
简单同族成员数量
15
简单同族被引用专利总数
89
诉讼案件数
0
法律状态/事件
未缴年费 | 权利转移
抱歉,您的浏览器不支持PDF预览,请点击链接下载PDF文件