专利数据库
统计分析
产业报告
专利数据监控
产业人才
行业动态
产业政策法规
维权援助
个人中心
详情
文本
图像
标题
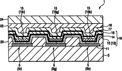
显示装置及其制造方法
授权日
1900-01-01
公开(公告)号
CN1855524A
申请日
2006-04-18
公开(公告)日
2006-11-01
当前申请(专利权)人
株式会社日本有机雷特显示器
发明人
松田英介
简单同族
CN100568524C | CN1855524A | KR1020060109840A | TW200642520A | TWI361018B | US20060231830A1 | US7723735
简单同族成员数量
7
简单同族被引用专利总数
61
诉讼案件数
0
法律状态/事件
未缴年费 | 权利转移
抱歉,您的浏览器不支持PDF预览,请点击链接下载PDF文件