专利数据库
统计分析
产业报告
专利数据监控
产业人才
行业动态
产业政策法规
维权援助
个人中心
详情
文本
图像
标题
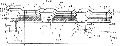
显示装置及其制造方法与制造装置
授权日
2009-04-22
公开(公告)号
CN100481486C
申请日
2004-12-27
公开(公告)日
2009-04-22
当前申请(专利权)人
三洋电机株式会社
发明人
铃木浩司
简单同族
CN100481486C | CN1638581A | JP2005197009A | KR1020050067057A | TW200522776A | TWI249365B | US20050140288A1
简单同族成员数量
7
简单同族被引用专利总数
65
诉讼案件数
0
法律状态/事件
未缴年费
抱歉,您的浏览器不支持PDF预览,请点击链接下载PDF文件