专利数据库
统计分析
产业报告
专利数据监控
产业人才
行业动态
产业政策法规
维权援助
个人中心
详情
文本
图像
标题
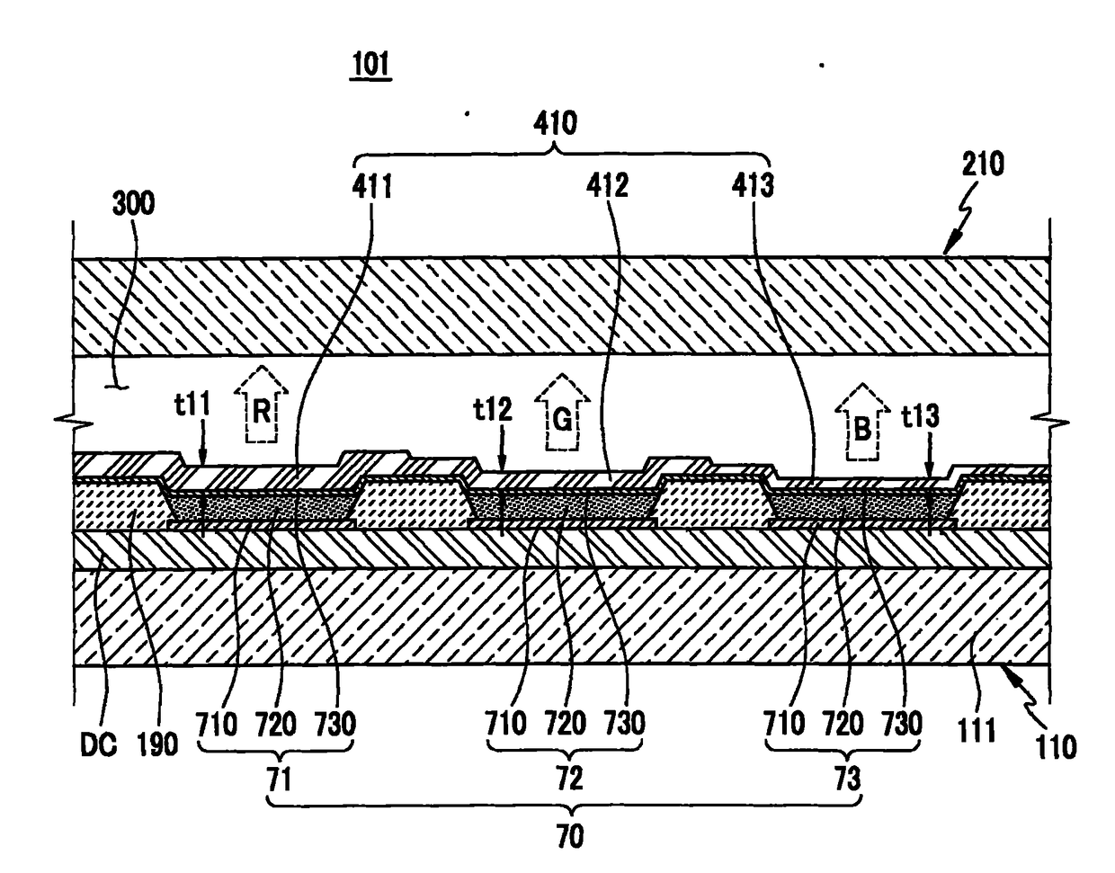
有机发光二极管显示器
授权日
1900-01-01
公开(公告)号
CN102044555A
申请日
2010-08-12
公开(公告)日
2011-05-04
当前申请(专利权)人
三星显示有限公司
发明人
丁憙星 | 朴顺龙
简单同族
CN102044555A | JP2011082139A | KR101094287B1 | KR1020110039056A | US20110084291A1 | US8421097
简单同族成员数量
6
简单同族被引用专利总数
47
诉讼案件数
0
法律状态/事件
驳回 | 权利转移
抱歉,您的浏览器不支持PDF预览,请点击链接下载PDF文件