专利数据库
统计分析
产业报告
专利数据监控
产业人才
行业动态
产业政策法规
维权援助
个人中心
详情
文本
图像
标题
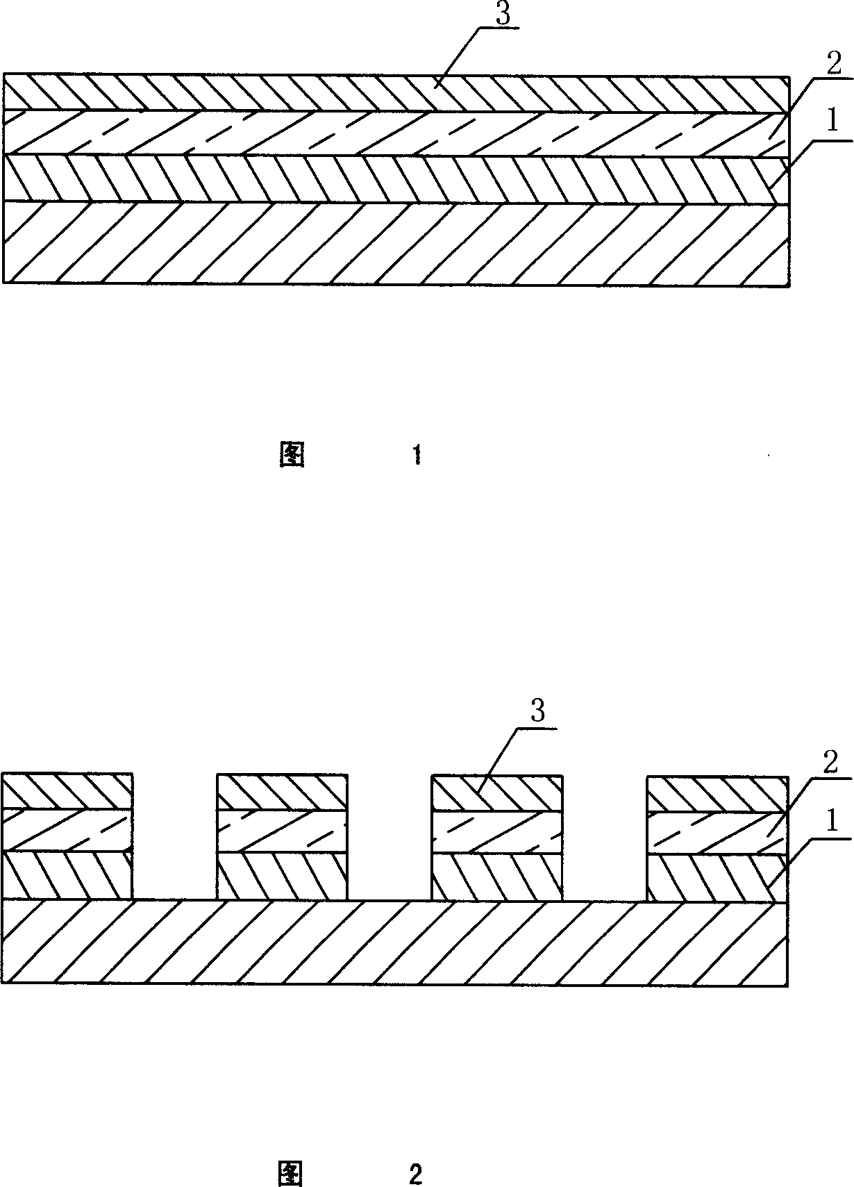
一种有机发光显示器件的电极基板
授权日
1900-01-01
公开(公告)号
CN1964061A
申请日
2006-11-30
公开(公告)日
2007-05-16
当前申请(专利权)人
昆山维信诺显示技术有限公司 | 清华大学
发明人
邱勇 | 刘嵩 | 高裕弟 | 陈珉
简单同族
CN1964061A
简单同族成员数量
1
简单同族被引用专利总数
0
诉讼案件数
0
法律状态/事件
撤回
抱歉,您的浏览器不支持PDF预览,请点击链接下载PDF文件