专利数据库
统计分析
产业报告
专利数据监控
产业人才
行业动态
产业政策法规
维权援助
个人中心
详情
文本
图像
标题
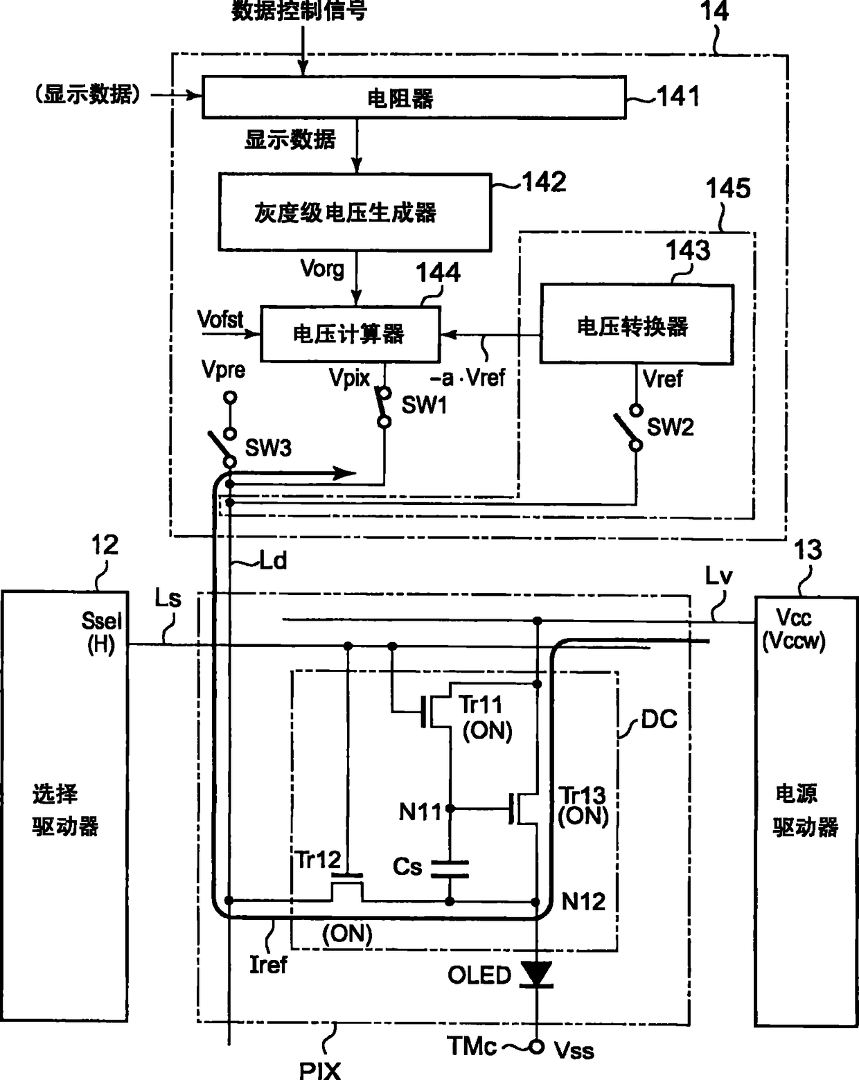
显示驱动装置和用于驱动显示驱动装置的方法以及显示装置和用于驱动显示装置的方法
授权日
2011-11-09
公开(公告)号
CN101421772B
申请日
2007-09-25
公开(公告)日
2011-11-09
当前申请(专利权)人
索拉斯OLED公司
发明人
小仓润
简单同族
CN101421772A | CN101421772B | EP2067135A1 | EP2067135B1 | EP3462435A1 | HK1128985A | JP2008107772A | JP5240542B2 | KR101039218B1 | KR1020080106191A | TW200826044A | TWI384448B | US20080074362A1 | US7701421 | WO2008038819A1
简单同族成员数量
15
简单同族被引用专利总数
77
诉讼案件数
0
法律状态/事件
授权 | 权利转移
抱歉,您的浏览器不支持PDF预览,请点击链接下载PDF文件