专利数据库
统计分析
产业报告
专利数据监控
产业人才
行业动态
产业政策法规
维权援助
个人中心
详情
文本
图像
标题
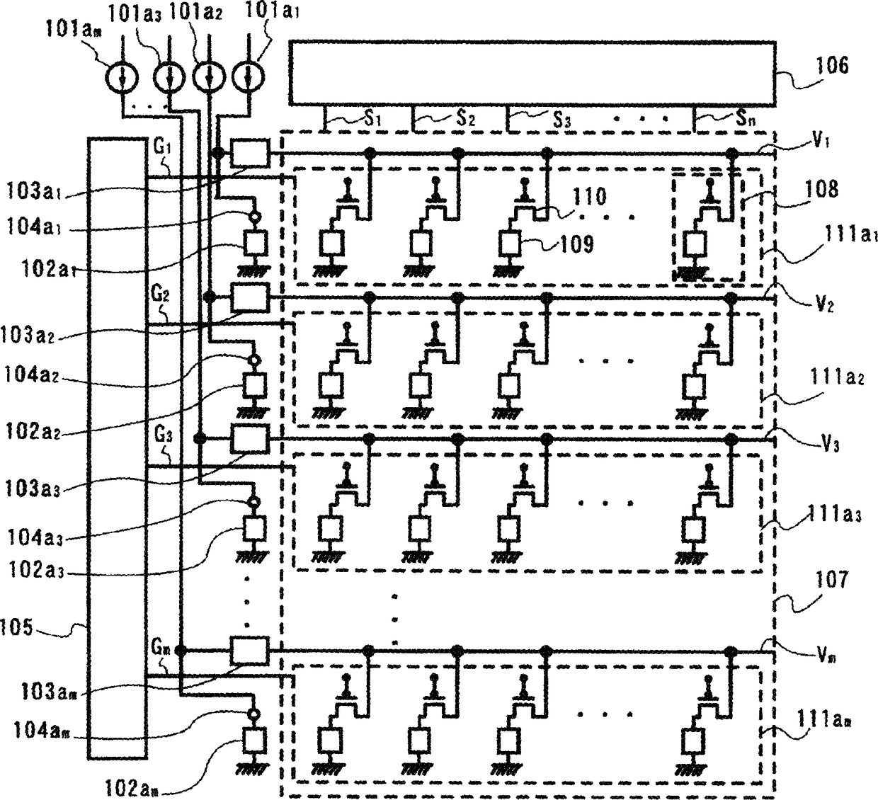
EL显示装置和电子器件
授权日
2013-11-13
公开(公告)号
CN1741115B
申请日
2005-08-23
公开(公告)日
2013-11-13
当前申请(专利权)人
株式会社半导体能源研究所
发明人
小山润 | 山崎舜平
简单同族
CN1741115A | CN1741115B | JP2012098742A | JP5288656B2 | US20060038501A1 | US20120306728A1 | US8194006 | US8576147
简单同族成员数量
8
简单同族被引用专利总数
107
诉讼案件数
0
法律状态/事件
未缴年费 | 复审
抱歉,您的浏览器不支持PDF预览,请点击链接下载PDF文件