专利数据库
统计分析
产业报告
专利数据监控
产业人才
行业动态
产业政策法规
维权援助
个人中心
详情
文本
图像
标题
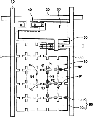
有机发光显示器及其制造方法
授权日
1900-01-01
公开(公告)号
CN1925702A
申请日
2006-08-30
公开(公告)日
2007-03-07
当前申请(专利权)人
三星显示有限公司
发明人
金恩雅
简单同族
CN100488325C | CN1925702A | JP2007066904A | KR100721948B1 | KR1020070024810A | US20070046186A1 | US7839077
简单同族成员数量
7
简单同族被引用专利总数
69
诉讼案件数
0
法律状态/事件
授权 | 权利转移
抱歉,您的浏览器不支持PDF预览,请点击链接下载PDF文件