专利数据库
统计分析
产业报告
专利数据监控
产业人才
行业动态
产业政策法规
维权援助
个人中心
详情
文本
图像
标题
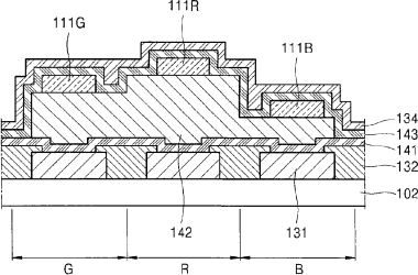
有机发光显示设备及其制造方法
授权日
1900-01-01
公开(公告)号
CN101533852A
申请日
2009-03-09
公开(公告)日
2009-09-16
当前申请(专利权)人
三星显示有限公司
发明人
宋明原
简单同族
CN101533852A | CN101533852B | EP2101356A1 | EP2101356B1 | JP2009224781A | JP4989669B2 | KR100922763B1 | KR1020090098186A | US20090231243A1 | US8344619
简单同族成员数量
10
简单同族被引用专利总数
79
诉讼案件数
0
法律状态/事件
授权 | 权利转移
抱歉,您的浏览器不支持PDF预览,请点击链接下载PDF文件