专利数据库
统计分析
产业报告
专利数据监控
产业人才
行业动态
产业政策法规
维权援助
个人中心
详情
文本
图像
标题
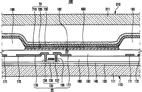
有机发光二极管显示器
授权日
1900-01-01
公开(公告)号
CN101853877A
申请日
2010-02-09
公开(公告)日
2010-10-06
当前申请(专利权)人
三星显示有限公司
发明人
丁憙星 | 田熙喆 | 郑又硕 | 郑哲宇 | 郭鲁敏 | 金恩雅 | 朴顺龙 | 李柱华
简单同族
CN101853877A | EP2216840A2 | EP2216840A3 | EP2216840B1 | JP2010182667A | JP2012054245A | KR101147428B1 | KR1020100090997A | US20100200845A1 | US8809838
简单同族成员数量
10
简单同族被引用专利总数
55
诉讼案件数
0
法律状态/事件
驳回 | 复审 | 权利转移
抱歉,您的浏览器不支持PDF预览,请点击链接下载PDF文件