专利数据库
统计分析
产业报告
专利数据监控
产业人才
行业动态
产业政策法规
维权援助
个人中心
详情
文本
图像
标题
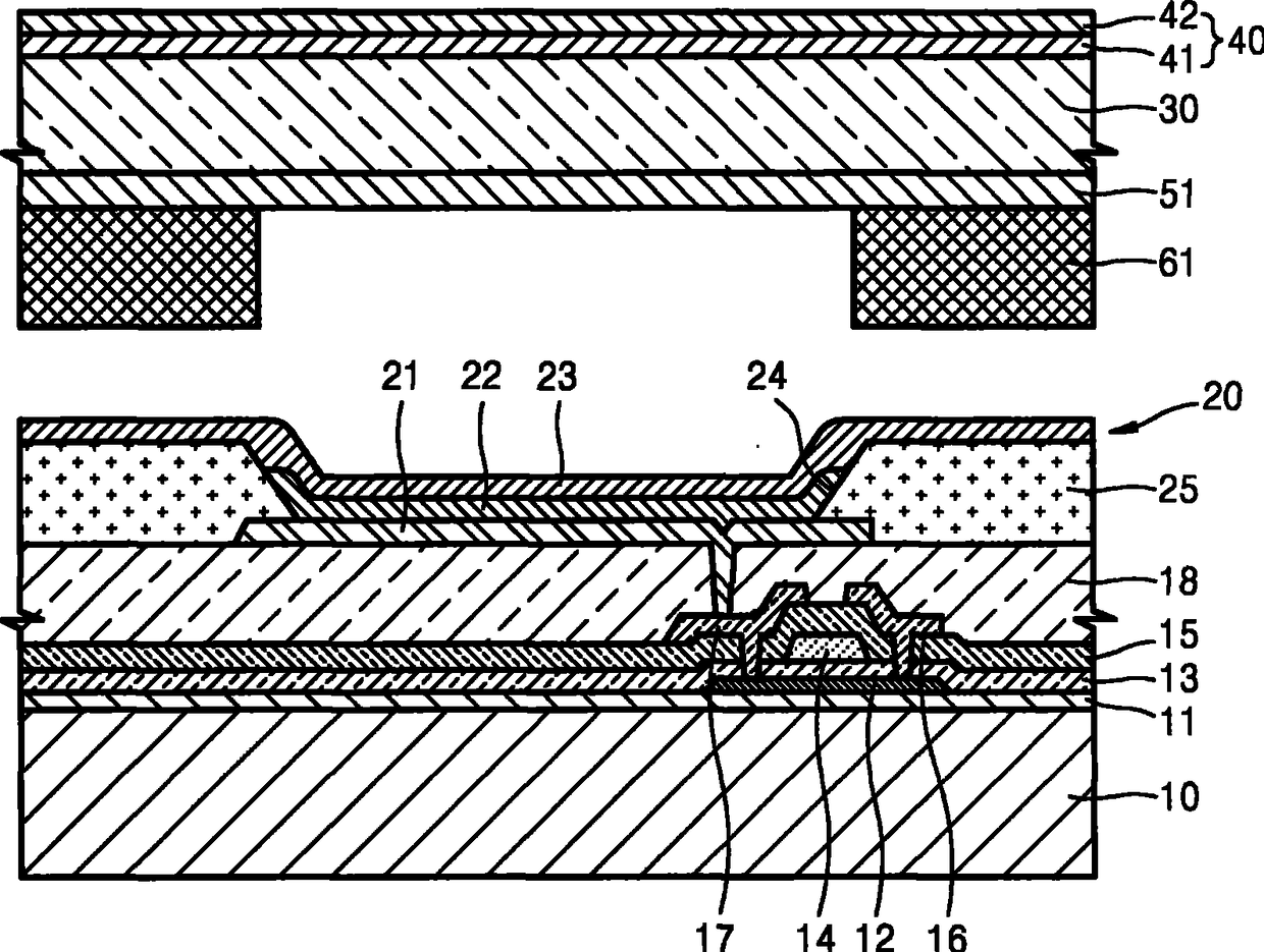
有机发光显示装置
授权日
2012-08-29
公开(公告)号
CN101257747B
申请日
2008-03-03
公开(公告)日
2012-08-29
当前申请(专利权)人
三星显示有限公司
发明人
赵尹衡 | 李钟赫 | 吴敏镐 | 李炳德 | 李昭玲 | 李善英 | 金元钟 | 金容铎 | 崔镇白
简单同族
CN101257747A | CN101257747B | EP1965429A2 | EP1965429A3 | EP1965429B1 | JP2008218377A | JP4588740B2 | KR100829753B1 | US20080218064A1 | US20110156015A1 | US7923923 | US8237356
简单同族成员数量
12
简单同族被引用专利总数
60
诉讼案件数
0
法律状态/事件
授权 | 权利转移
抱歉,您的浏览器不支持PDF预览,请点击链接下载PDF文件