专利数据库
统计分析
产业报告
专利数据监控
产业人才
行业动态
产业政策法规
维权援助
个人中心
详情
文本
图像
标题
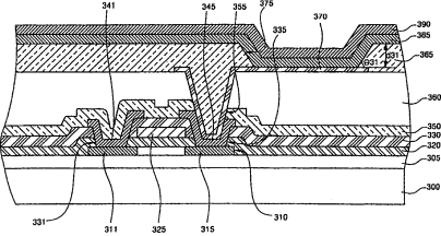
有机发光显示器
授权日
1900-01-01
公开(公告)号
CN101221977A
申请日
2004-11-05
公开(公告)日
2008-07-16
当前申请(专利权)人
三星显示有限公司
发明人
金茂显 | 宋明原 | 姜泰旻 | 李城宅 | 曹洧诚
简单同族
CN100448055C | CN101221977A | CN101221977B | CN1622708A | DE602004025078D1 | EP1536494A2 | EP1536494A3 | EP1536494B1 | EP1919007A2 | EP1919007A3 | EP1919007B1 | JP2005165324A | JP2008047540A | KR100611159B1 | KR1020050052301A | US20050116631A1 | US7501756
简单同族成员数量
17
简单同族被引用专利总数
81
诉讼案件数
0
法律状态/事件
授权 | 权利转移
抱歉,您的浏览器不支持PDF预览,请点击链接下载PDF文件