专利数据库
统计分析
产业报告
专利数据监控
产业人才
行业动态
产业政策法规
维权援助
个人中心
详情
文本
图像
标题
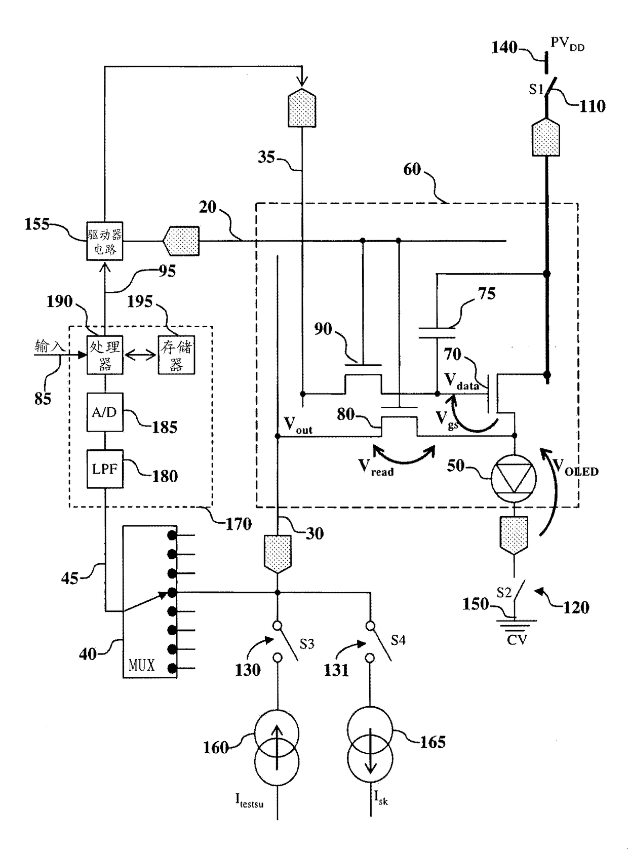
具有老化补偿的数字驱动电致发光显示器
授权日
2014-09-17
公开(公告)号
CN102257554B
申请日
2009-12-16
公开(公告)日
2014-09-17
当前申请(专利权)人
全球OLED科技有限责任公司
发明人
查尔斯·I·利维 | 费利佩·安东尼奥·莱昂 | 约翰·W·哈默 | 加里·帕雷特 | 克里斯多佛·贾森·怀特
简单同族
CN102257554A | CN102257554B | EP2359357A1 | EP2359357B1 | JP2012513040A | JP2012513040A5 | JP5347033B2 | KR101267900B1 | KR1020110100219A | US20100156766A1 | US8130182 | WO2010080113A1
简单同族成员数量
12
简单同族被引用专利总数
48
诉讼案件数
0
法律状态/事件
授权
抱歉,您的浏览器不支持PDF预览,请点击链接下载PDF文件