专利数据库
统计分析
产业报告
专利数据监控
产业人才
行业动态
产业政策法规
维权援助
个人中心
详情
文本
图像
标题
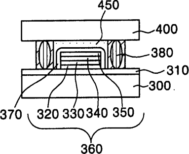
有机发光显示器及其制造方法
授权日
2010-07-21
公开(公告)号
CN1953199B
申请日
2006-10-20
公开(公告)日
2010-07-21
当前申请(专利权)人
三星显示有限公司
发明人
崔东洙 | 朴镇宇 | 金兑承
简单同族
CN1953199A | CN1953199B | EP1777748A2 | EP1777748A3 | JP2007115692A | JP4642727B2 | KR100685845B1 | TW200718269A | TWI333391B | US20070090759A1 | US20090221109A1 | US7545094 | US7838314
简单同族成员数量
13
简单同族被引用专利总数
208
诉讼案件数
0
法律状态/事件
授权 | 权利转移
抱歉,您的浏览器不支持PDF预览,请点击链接下载PDF文件