专利数据库
统计分析
产业报告
专利数据监控
产业人才
行业动态
产业政策法规
维权援助
个人中心
详情
文本
图像
标题
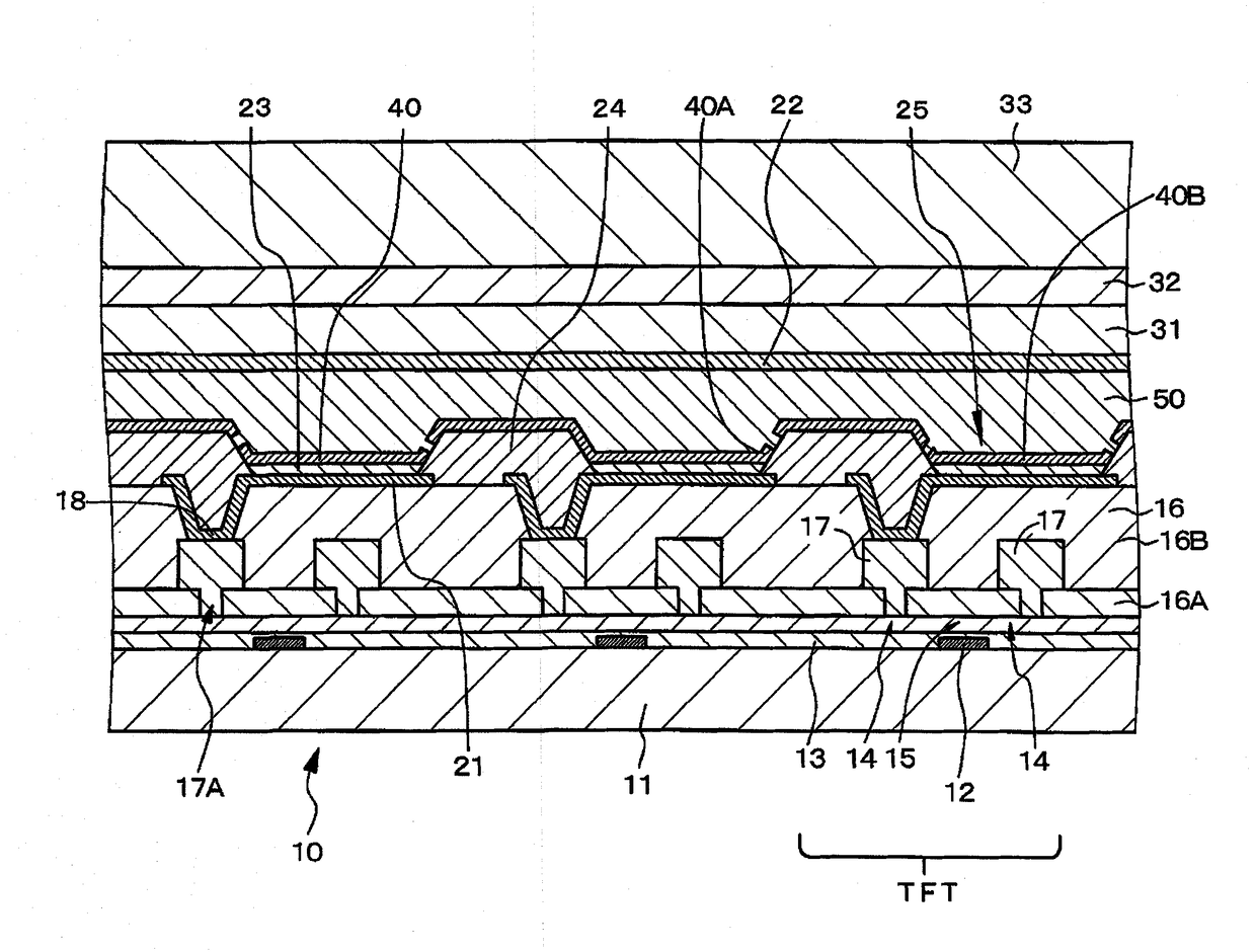
发光元件和有机电致发光显示装置
授权日
1900-01-01
公开(公告)号
CN102113415A
申请日
2009-07-28
公开(公告)日
2011-06-29
当前申请(专利权)人
索尼公司
发明人
山田二郎 | 根岸英辅 | 中村弘史 | 中村明史 | 吉永祯彦
简单同族
CN102113415A | JP2010056075A | KR1020110050435A | US20110121346A1 | US20140151672A1 | US8664677 | WO2010013689A1
简单同族成员数量
7
简单同族被引用专利总数
48
诉讼案件数
0
法律状态/事件
放弃
抱歉,您的浏览器不支持PDF预览,请点击链接下载PDF文件