专利数据库
统计分析
产业报告
专利数据监控
产业人才
行业动态
产业政策法规
维权援助
个人中心
详情
文本
图像
标题
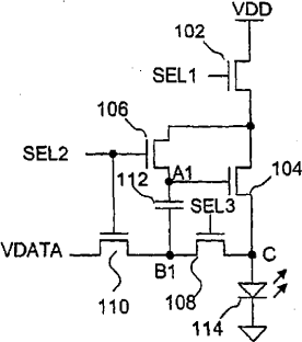
用于亮度退化补偿的电致发光器件显示器及其驱动方法
授权日
2010-12-15
公开(公告)号
CN101305409B
申请日
2006-09-13
公开(公告)日
2010-12-15
当前申请(专利权)人
伊格尼斯创新有限公司
发明人
A·内森 | G·R·查吉 | S·加法拉巴迪亚什蒂娜
简单同族
AT488001T | CA2518276A1 | CA2557713A1 | CA2557713C | CN101305409A | CN101305409B | DE602006018165D1 | EP1932135A1 | EP1932135A4 | EP1932135B1 | JP2009508168A | KR1020080090382A | TW200717387A | US10019941 | US20070063932A1 | US20110141160A1 | US20140232623A1 | US8188946 | US8749595 | WO2007030927A1
简单同族成员数量
20
简单同族被引用专利总数
186
诉讼案件数
0
法律状态/事件
未缴年费
抱歉,您的浏览器不支持PDF预览,请点击链接下载PDF文件