专利数据库
统计分析
产业报告
专利数据监控
产业人才
行业动态
产业政策法规
维权援助
个人中心
详情
文本
图像
标题
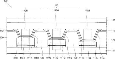
有机发光显示装置
授权日
1900-01-01
公开(公告)号
CN101593766A
申请日
2009-03-12
公开(公告)日
2009-12-02
当前申请(专利权)人
三星显示有限公司
发明人
尹智焕 | 李宽熙
简单同族
CN101593766A | EP2128911A2 | EP2128911A3 | EP2128911B1 | JP2009289740A | KR100932940B1 | KR1020090123536A | US20090295282A1 | US7999457
简单同族成员数量
9
简单同族被引用专利总数
52
诉讼案件数
0
法律状态/事件
驳回 | 权利转移
抱歉,您的浏览器不支持PDF预览,请点击链接下载PDF文件